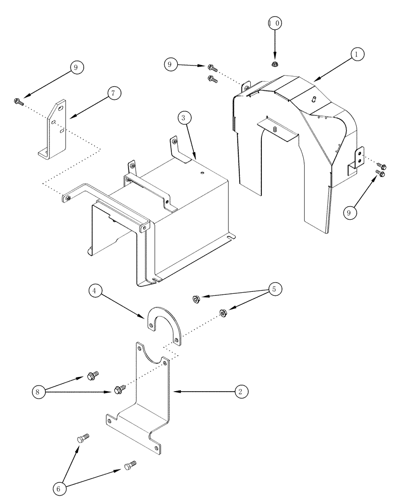
Запчасти Case IH MX200 (02-11) - FLYWHEEL SHIELDS, JJA01077680 AND UP (02) - ENGINE

Схема запчастей Case IH MX200 - (02-11) - FLYWHEEL SHIELDS, JJA01077680 AND UP (02) - ENGINE
9
7
3
6
8
5
9
4
1
9
2
10
FIT
1:1
100%

Артикул

Название

Примечание

Количество

JJA0107680-

1шт.

1

382150A1

PROTECTION PLATE

1шт.

2

382147A1

PROTECTION PLATE

1шт.

3

435642A1

SPLASH SHIELD

1шт.

4

382148A1

PROTECTION PLATE

1шт.

5

9804279

FLANGE NUT,Hex, M12, Cl 8

M12

2шт.

6

614-12030

BOLT,Hex, M12 x 1.75 x 30mm, Cl 8.8, Full Thd

2шт.

7

367682A1

BRACKET

1шт.

8

854-12035

BOLT,Hvy Hex, M12 x 35mm, Cl 10.9

M12 x 35; 10.9

2шт.

9

844-8025

BOLT,Hvy Hex, M8 x 25mm, Cl 8.8

5шт.

10

825-2408

FLANGE NUT,M8 x 1.25, Flg, Cl 8

1шт.

Выбрано товаров: 11