Качественные детали и логистика
Оригинальные и аналоговые запчасти с доставкой по России, Казахстану и Беларуси
©2022 PartSell ООО "Система" ИНН 2463123282 ОГРН 1212400004838
Центральный офис: г. Красноярск, Академика Киренского, д.87, пом.4
Телефон: 8 (800) 777-65-74 Email: zakaz@partsell.ru
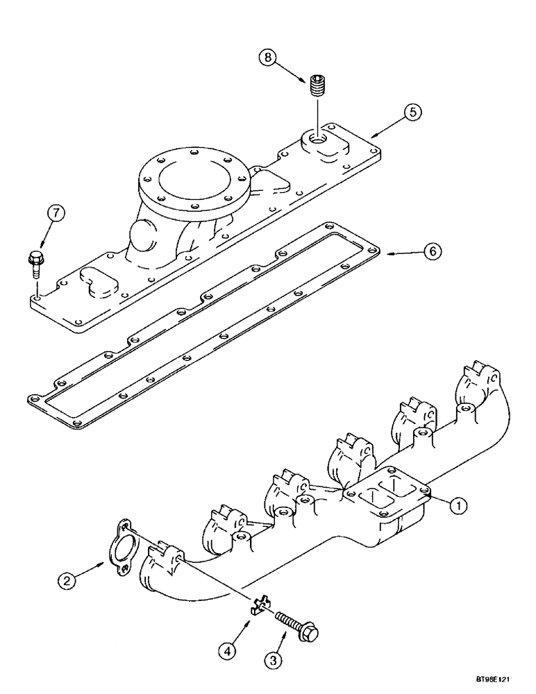
(2-032) - MANIFOLDS, MX200, MX220, 6TAA-830 EMISSIONS CERTIFIED ENGINE, EXHAUST
№
Артикул
Название
Примечание
Количество
1
J932183
EXHAUST MANIFOLD
1шт.
2
J929012
GASKET,0.5mm Thk
manifold
6шт.
3
J929537
BOLT
10 x 70 mm
12шт.
4
J914708
LOCKING PLATE
5
J926044
COVER
intake
6
J914311
MANIFOLD GASKET
manifold, intake
7
844-8030
BOLT,Hex, M8 x 1.25 x 30mm, Cl 8.8
Intake
18шт.
8
A77429
PLUG
1/2 PT, intake
Выбрано товаров: 0