Запчасти Case IH MX210 (02-25) - OIL PUMP AND OIL PAN (02) - ENGINE

Схема запчастей Case IH MX210 - (02-25) - OIL PUMP AND OIL PAN (02) - ENGINE
16
14
11
1
6
2
13
18
7
5
12
17
3
9
15
8
4
FIT
1:1
100%

Артикул

Название

Примечание

Количество

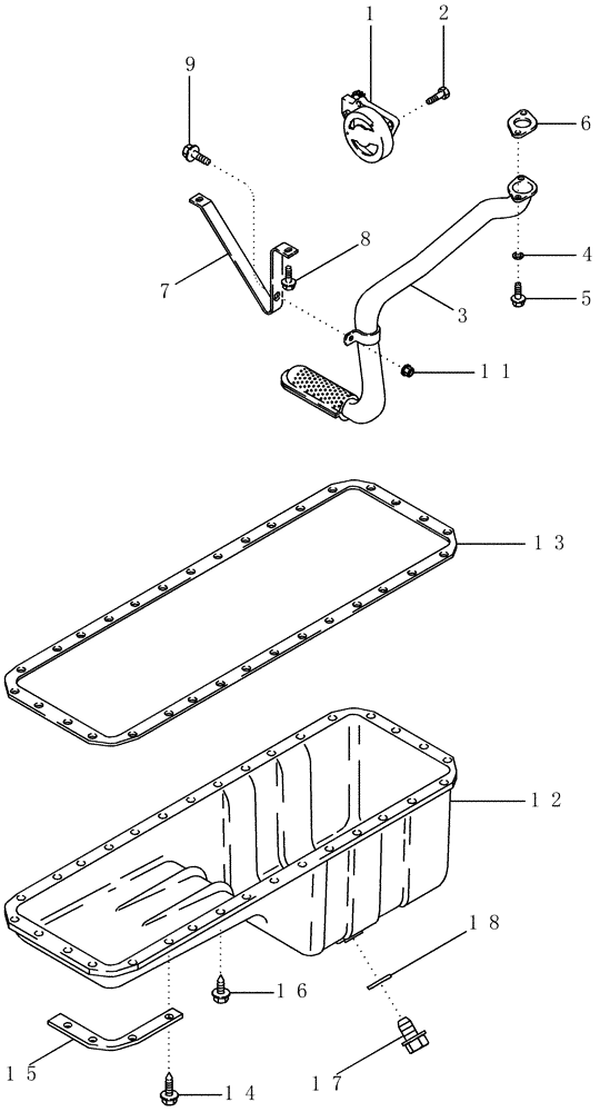
1

J948072

ENGINE OIL PUMP

New

1шт.

1

JR948072

REMAN-ENG OIL PUMP

REMAN-ENGINE OIL PUMP Remanufactured Oil Pump; For N.A. Only

1шт.

1

JC948072

CORE-ENGINE OIL PUMP

CORE-ENGINE OIL PUMP Return number - For N.A. only

1шт.

2

J900677

BOLT,Hex

M8 x 30

4шт.

3

J928828

TUBE ASSY.,31.75 mm OD x 514.17, 201 mm L

1шт.

4

J926865

SPACER,6.9mm ID x 12.7mm OD x 14mm L

2шт.

5

845-6030

BOLT,Hvy Hex, M6 x 30mm, Cl 8.8

2шт.

6

J914302

GASKET

1шт.

7

J927611

BRACKET

1шт.

8

845-6015

BOLT,Hvy Hex, M6 x 15mm, Cl 8.8

2шт.

9

845-6020

BOLT,Hvy Hex, M6 x 20mm, Cl 8.8

1шт.

11

J906216

FLANGE NUT

M6

1шт.

12

87362733

ENGINE OIL PAN

1шт.

13

J938160

OIL PAN GASKET SET

Oil Pan

1шт.

14

J907860

FLANGE BOLT,Hex, M8 x 25mm, Spcl

16шт.

15

87414461

SUPPORT

4шт.

16

J920400

FLANGE BOLT,Hex, M8 x 1.25 x 21mm, Gr 8.8

16шт.

17

J924147

PLUG,M18 x 1.5

M18

1шт.

18

J920773

SEALING WASHER

1шт.

Выбрано товаров: 19