Запчасти Case IH MX215 (05-08A) - HYDRAULIC SYSTEM - SUSPENDED MFD AXLE, ASN Z7RZ05000 (05) - STEERING

Схема запчастей Case IH MX215 - (05-08A) - HYDRAULIC SYSTEM - SUSPENDED MFD AXLE, ASN Z7RZ05000 (05) - STEERING
8
10
5
9
13
11
7
4
13
12
2
1
4
1
6
3
14
12
FIT
1:1
100%

Артикул

Название

Примечание

Количество

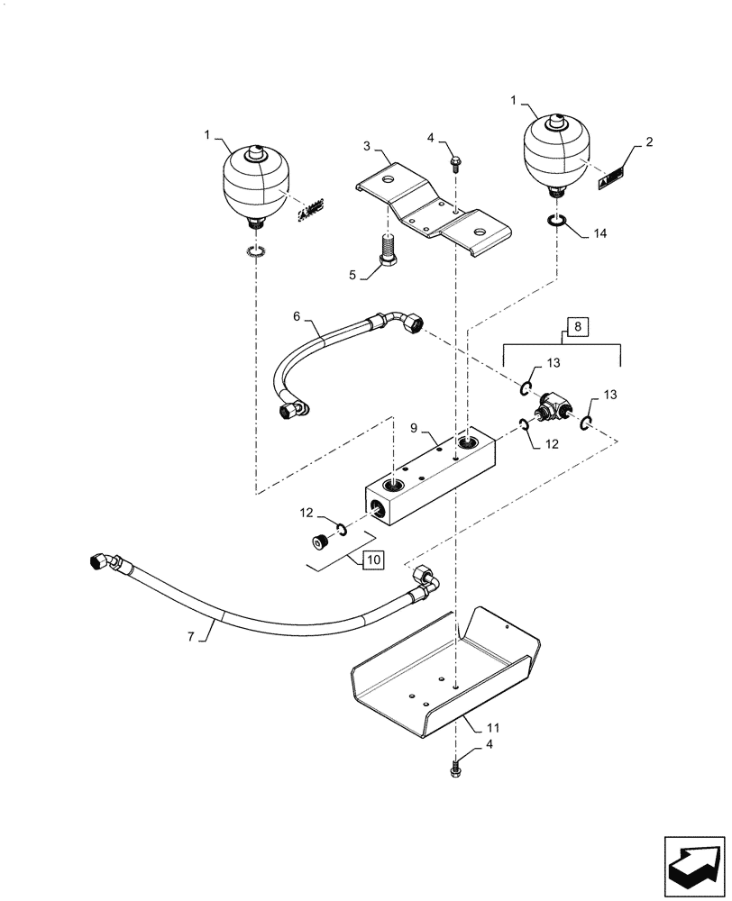
1

87622941

ACCUMULATOR,1.4L

330 Bar

2шт.

2

82029752

DECAL

Warning: Hydraulic Accumulator

2шт.

3

87662483

BRACKET

Axle Suspension Accumulator Mounting

1шт.

4

844-10025

BOLT,Hex, M10 x 25mm, Cl 8.8

8шт.

5

11130621

BOLT,Hex, M24 x 50mm, Cl 8.8, Full Thd

2шт.

6

87668712

HOSE

Accumulator to RH Cylinder

1шт.

7

87668713

HOSE

Accumulator to LH Cylinder

1шт.

8

700-424

TEE,1-3/16" - 12 Male ORFS x 1-3/16" - 12 Male ORFS x M27 x 2 Male ORB

Incl 12, 13

1шт.

9

87662479

MANIFOLD

Suspension Accumulator

1шт.

10

221580A1

PLUG,M27 x 2 ORB

Incl 12

1шт.

11

87662484

COVER

Suspension Accumulator

1шт.

12

86598103

O-RING,2.9mm Thk x 23.6mm ID, Cl 6, 90 Duro

2шт.

13

9991976

O-RING,0.07" Thk x 0.739" ID, -18, Cl 6, 90 Duro

2шт.

14

340493A2

SEALING RING,30.3mm ID x 42.8mm OD x 2.5mm Thk

Accumulator

2шт.

Выбрано товаров: 14