Запчасти Case IH MX220 (2-104) - CYLINDER BLOCK, MX200, MX220, 6TAA-830 EMISSIONS CERTIFIED ENGINE (02) - ENGINE

Схема запчастей Case IH MX220 - (2-104) - CYLINDER BLOCK, MX200, MX220, 6TAA-830 EMISSIONS CERTIFIED ENGINE (02) - ENGINE
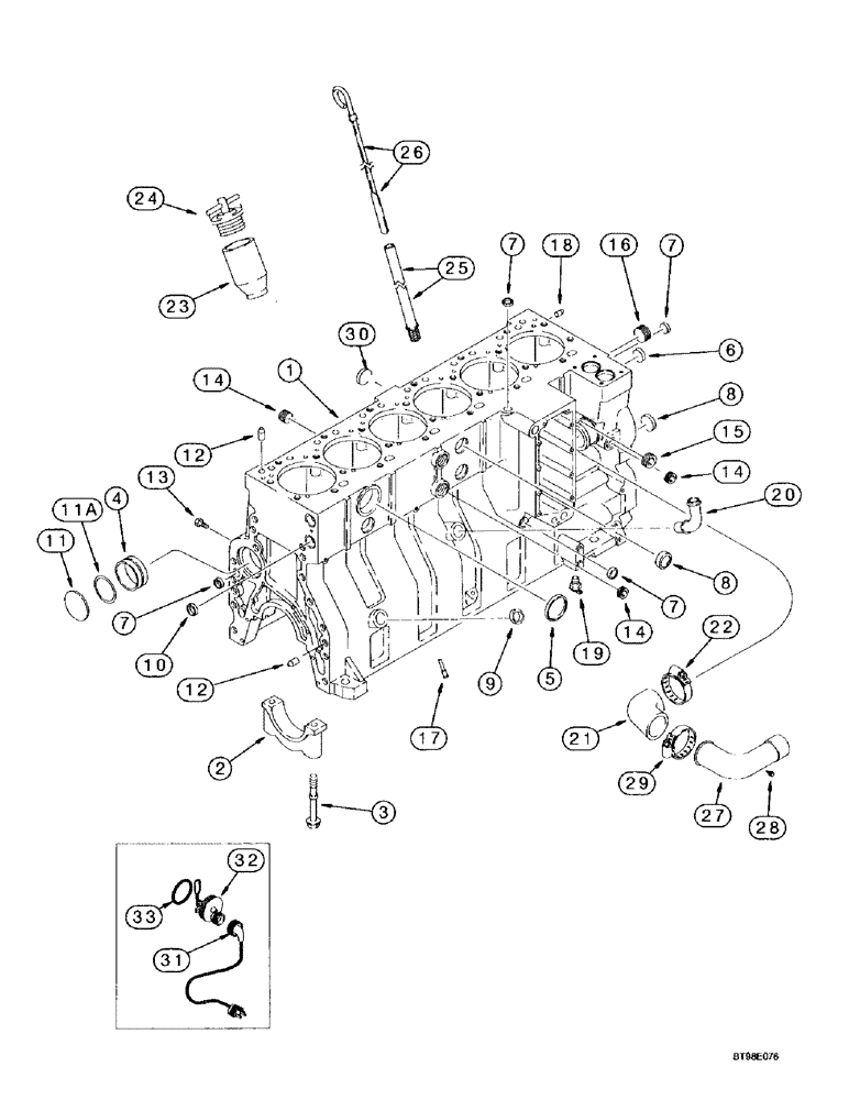
32
5
13
11a
11
26
30
7
8
3
17
8
24
9
31
19
20
14
14
21
18
12
28
6
7
23
14
4
22
12
25
16
7
33
7
15
29
2
10
27
1
FIT
1:1
100%

Артикул

Название

Примечание

Количество

256635A1

ENGINE ASSEMBLY

ENGINE ASSY complete, MX200, less: starter, alternator, fan, fan belt, air cleaner, muffler and exhaust pipe, order 243308A1

1шт.

256636A1

ENGINE ASSEMBLY

ENGINE ASSY complete, MX220, less: starter, alternator, fan, fan belt, air cleaner, muffler and exhaust pipe, order 243308A1

1шт.

243308A1

BASIC ENGINE

service

1шт.

Per Dan Stattenfield, basic engine for MX200 and MX220 is 243308A1. Engine does not have an auxiliary pump drive.

1шт.

Less: starter, alternator, fan, fan belt, air cleaner, muffler, exhaust manifold, flywheel and housing, oil fill and dipstick, fuel injection pump, injectors and lines, front pulley, belt tensioner, turbocharger and aftercooler; See Note

1шт.

243308A1R

REMAN-BASIC ENGINE

MX200, MX220

1шт.

243308A1C

CORE-ENGINE

Return Part Number

1шт.

JC925187

CORE-SHORT ENGINE

1шт.

J934600

SKELETON ENGINE

BLOCK ASSY, short, with: stripped block, pistons, connecting rods and bearings, crankshaft and bearings, consists of: Ref. 1 - 8

1шт.

JR934600

ENGINE, EXCHANGE

Engine (Exchange) Block Assy, Short, Remanufactured

1шт.

JC934600

CORE-ENGINE

Return Part Number

1шт.

87448701

REMAN-SHORT ENGINE

Reman for New PN J934600

1шт.

6-830-SHBC

CORE

Return Part Number, Short Block

1шт.

1

J934900

SHORT ENGINE

BLOCK ASSY, stripped, also order A77716, consists of: Ref. 2 - 8

1шт.

2

J917313

BEARING CAP

7шт.

3

J916369

FLANGE BOLT,Hex, M14 x 2 x 128mm, Cl 10.9

14шт.

4

J945329

CAMSHAFT BEARING,60.08mm ID x 64.13mm OD x 25mm L

see Figure 2-090, Replaces: J943199

7шт.

5

A77782

PLUG

expansion, 58 mm

1шт.

6

A77586

PLUG

expansion, 28.9 mm

1шт.

7

A77506

PLUG

expansion, 21 mm

4шт.

8

J905401

PLUG

expansion, 35 mm

4шт.

A77716

BLOCK

KIT, consists of: Ref. 9 - 11, 12 - 20

1шт.

9

J920706

PLUG

expansion, 22 mm, not used

1шт.

10

J920443

PLUG

expansion, 30 mm, not used

2шт.

11

41-3044

PLUG,Exp, 2 3/4"

(70 mm)

1шт.

11a

J926048

O-RING,0.07" Thk x 2.614" ID, -38, Cl 5, 75 Duro

66 mm ID

1шт.

12

J901846

PIN,12.01mm OD x 24mm L

4шт.

13

J906619

PLUG,1/8" - 27

hex, 1/8 PT

6шт.

14

A77429

PLUG

1/2 PT

4шт.

15

A77505

PLUG

3/4 PT

2шт.

16

A77533

PLUG

1 PT

1шт.

17

J928031

NOZZLE,8.5mm OD x 30mm L

12шт.

18

J900257

PIN,10.01mm OD x 16mm L

16 mm

2шт.

19

217-103

COCK, DRAIN

VALVE, 1/4 PT

1шт.

20

J903744

PIPE FITTING,22.42 mm ID x 28 mm OD x 90.2, 64 mm L

TUBE, not used

1шт.

21

J920762

ELBOW

HOSE, 79 mm (3-1/8 in.)

1шт.

22

J918521

HOSE CLAMP,59mm - 83mm

1-13/16 - 2-3/4

1шт.

23

J905408

TUBE,35.13 mm ID x 52.39 mm OD x 100 mm L

1шт.

24

J934480

FILLER CAP

1шт.

25

A77645

TUBE

1шт.

J900955

PLUG

10 m

1шт.

26

J934481

DIPSTICK

1шт.

27

J907208

TUBE,50.8 mm DIA x 295.3 mm L

1шт.

28

845-8016

BOLT,Hvy Hex, M8 x 16mm, Cl 8.8

1шт.

29

J922847

CLAMP

1шт.

30

J905401

PLUG

expansion, 35 mm

1шт.

196804A1

KIT

coolant heater, 120V, consists of: Ref. 31 - 33, engine block

1шт.

31

196466A1

ELECTRIC CABLE

1829 mm (72 in.), 120V

1шт.

32

NSS

NOT SOLD SEPARAT

ELEMENT, 120V

1шт.

33

J910517

O-RING

120V

1шт.

A77665

SET OF PARTS

coolant heater, 240V, consists of: Ref. 31 - 33, engine block

1шт.

31

NSS

NOT SOLD SEPARAT

CABLE, 240 volt

1шт.

32

NSS

NOT SOLD SEPARAT

ELEMENT, 240 volt

1шт.

33

J910517

O-RING

240 volt

1шт.

A77885

PACKAGE, REPAIR

KIT, engine block, consists of: Ref. 34 - 41, not illustrated, Serial Range: -45636465

1шт.

34

A77854

PACKAGE, REPAIR

KIT, piston, see Figure 2-134

6шт.

35

A77563

BEARING SET

con. rod, see Figure 2-134

6шт.

36

J901597

PIN

see Figure 2-134

6шт.

37

A77711

BEARING LINER

crankshaft, see Figure 2-126

6шт.

38

A77843

BEARING LINER

crankshaft, see Figure 2-126

1шт.

39

A77872

GASKET KIT

PACKAGE, order A77872

1шт.

40

J931019

GASKET

cylinder head, see Figures 2-068, 2-074

1шт.

41

A77679

GASKET KIT

PACKAGE, see Figure 2-064

1шт.

A77913

PACKAGE, REPAIR

KIT, engine block, Includes: Ref. 42 - 49, not illustrated, Start Serial: 45636466

1шт.

42

A77912

PACKAGE, REPAIR

KIT, piston, see Figure 2-134

6шт.

43

A77563

BEARING SET

con. rod, see Figure 2-134

6шт.

44

J901597

PIN

see Figure 2-134

6шт.

45

A77711

BEARING LINER

crankshaft, see Figure 2-126

6шт.

46

A77843

BEARING LINER

crankshaft, see Figure 2-126

1шт.

47

A77872

GASKET KIT

PACKAGE, order A77872

1шт.

48

J931019

GASKET

cylinder head, see Figures 2-068, 2-074

1шт.

49

A77679

GASKET KIT

PACKAGE, see Figure 2-064

1шт.

243372A1

BELT,1622.00 mm L, 8 Ribs

Fan

1шт.

Выбрано товаров: 73