Запчасти Case IH MX230 (07-16) - TRAILER BRAKES - PNEUMATIC, HAND CONTROL VALVE (07) - BRAKES

Схема запчастей Case IH MX230 - (07-16) - TRAILER BRAKES - PNEUMATIC, HAND CONTROL VALVE (07) - BRAKES
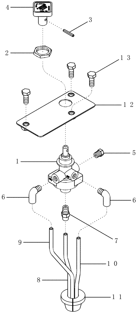
8
13
4
10
2
6
3
1
9
5
7
11
12
6
FIT
1:1
100%

Артикул

Название

Примечание

Количество

1

87409382

PNEUMATIC VALVE

Hand, Inc. 2, 3, 4

1шт.

2

NSS

NOT SOLD SEPARAT

Nut, Locking

1шт.

3

NSS

NOT SOLD SEPARAT

Pin, Roll

1шт.

4

NSS

NOT SOLD SEPARAT

Handle

1шт.

5

86643151

PLUG,Hex Hd, 1/8"-27 NPTF

1шт.

6

87411410

ELBOW

2шт.

7

87411411

HYD CONNECTOR

Push-in

1шт.

8

87411887

HOSE

Hand Valve Exhaust

1шт.

9

87422504

HOSE

Hand Valve to Protection Valve

1шт.

10

87422503

HOSE

Hand Valve Supply

1шт.

11

182045A1

GROMMET

1шт.

12

87411915

MOUNTING PLATE

Hand Valve

1шт.

13

614-8020

BOLT,Hex, M8 x 1.25 x 20mm

M6 x 20

3шт.

Выбрано товаров: 13