Запчасти Case IH MX240 (02-39) - CYLINDER BLOCK- FILTER, VATTEN, MX240, MX270, 6TAA-8304 EMISSIONS CERTIFIED ENGINE (02) - ENGINE

Схема запчастей Case IH MX240 - (02-39) - CYLINDER BLOCK- FILTER, VATTEN, MX240, MX270, 6TAA-8304 EMISSIONS CERTIFIED ENGINE (02) - ENGINE
29
4
25
2
5
37
15
23a
36
18
7
11
22
24
23
3
4
35
13
8
34
26
30
27
31
19
16
4
28
14
9
21
4
12
32
14
10
1
17
20
6
23b
FIT
1:1
100%

Артикул

Название

Примечание

Количество

375186A1

ENGINE ASSEMBLY

ENGINE ASSY MX240(1), Complete Engine, Less, Starter, Alternator, Fan, Fan Belt, Air Cleaner, Muffler and Exhaust Pipe, Order 314141A1

1шт.

375187A1

ENGINE ASSEMBLY

ENGINE ASSY MX270(1), Complete Engine, Less, Starter, Alternator, Fan, Fan Belt, Air Cleaner, Muffler and Exhaust Pipe, Order 314141A1

1шт.

314141A1

BASIC ENGINE

Basic Service Engine, Less, Starter, Alternator, Fan, Fan Belt, Air Cleaner, Muffler, Exhaust Manifold, Flywheel and Housing, Oil Fill and Dipstick, Fuel Injection Pump, Injectors and Lines, Front Pulley, Belt Tensioner, Turbocharger and Aftercooler

1шт.

87410985

BASIC ENGINE

Remanufactured

1шт.

87410985C

CORE

Return Part Number, Basic Engine

1шт.

314141A1R

ENGINE, EXCHANGE

ENGINE (EXCHANGE) Remanufactured, For N.A. Only

1шт.

314141A1C

ENGINE ASSEMBLY

ENGINE ASSY

1шт.

J945432

SKELETON ENGINE

Short, With: Stripped Block, Pistons, Connecting Rods and Bearings, Crankshaft and Bearings, Consists Of 1 - 8

1шт.

JR945432

SHORT ENGINE

Remanufactured

1шт.

JC945432

CORE-SHORT ENGINE

Return Part Number

1шт.

JR991309

REMAN-SHORT ENGINE

Remanufactured

1шт.

6-830-SHBC

CORE

Return Part Number, Engine, Short Block Cyl.

1шт.

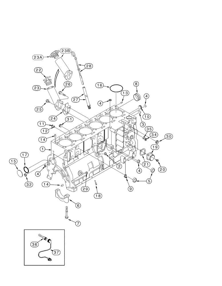
1

J944673

BASIC BLOCK

Stripped, Also Order J800332, Consists Of 2 - 8

1шт.

2

J920706

PLUG

22 mm OD

1шт.

3

A77586

PLUG

28.9 mm

2шт.

4

A77506

PLUG

21 mm

4шт.

5

J905401

PLUG

35 mm

4шт.

6

J936058

BEARING CAP

7шт.

7

J916369

FLANGE BOLT,Hex, M14 x 2 x 128mm, Cl 10.9

14шт.

8

J945329

CAMSHAFT BEARING,60.08mm ID x 64.13mm OD x 25mm L

See Figure 2-37

7шт.

J800332

KIT

Consists Of 9 - 18

1шт.

9

217-103

COCK, DRAIN

1/4" PT

1шт.

10

A77533

PLUG

1 PT

1шт.

11

J678923

PLUG,M10 x 1

10 mm, Includes 637-72081

6шт.

12

637-72081

O-RING,1.6mm Thk x 8.1mm ID, Cl 7, 75 Duro

1шт.

13

J900257

PIN,10.01mm OD x 16mm L

16 mm

2шт.

14

J901846

PIN,12.01mm OD x 24mm L

4шт.

15

41-3044

PLUG,Exp, 2 3/4"

(70 mm)

1шт.

16

J907177

SEAL,118mm ID x 122.32mm OD x 4mm Thk

6шт.

17

J926048

O-RING,0.07" Thk x 2.614" ID, -38, Cl 5, 75 Duro

66 mm ID

1шт.

18

J928031

NOZZLE,8.5mm OD x 30mm L

12шт.

19

J944720

HYD CONNECTOR

1шт.

20

845-8020

BOLT,Hvy Hex, M8 x 20mm, Cl 8.8

2шт.

21

J913032

GASKET

1шт.

22

314441A1

FILLER CAP

If Used

1шт.

23

J941990

PIPE ASSY.

No Longer Available, Order J944510, J945254

1шт.

23a

J945254

FILLER CAP

1шт.

23b

J944510

PIPE ASSY.

1шт.

24

J931059

GASKET

Replaces J931348

1шт.

25

845-8020

BOLT,Hvy Hex, M8 x 20mm, Cl 8.8

1шт.

26

845-8070

BOLT,Hvy Hex, M8 x 70mm, Cl 8.8

1шт.

27

A77645

TUBE

1шт.

28

J934481

DIPSTICK

1шт.

29

J943808

PLUG

13 mm

1шт.

30

A77505

PLUG

3/4 PT

3шт.

31

A77429

PLUG

1/2 PT

1шт.

32

J920443

PLUG

30 mm

2шт.

34

313244A1

PLUG

Hex Socket, 22 mm, Incl 35

2шт.

35

313246A1

O-RING,2.2mm Thk x 19.3mm ID

19 ID x 2,2 mm

1шт.

310493A1

KIT

Engine Block Heater, 120V/1000W, Incl 36, 37

1шт.

36

NSS

NOT SOLD SEPARAT

Element

1шт.

37

196466A1

ELECTRIC CABLE

1829 mm (72 in)

1шт.

310494A1

KIT

Engine Block Heater, 240V/1000W, Incl 36, 37

1шт.

36

NSS

NOT SOLD SEPARAT

Element

1шт.

37

NSS

NOT SOLD SEPARAT

Cable

1шт.

A77900

REPAIR KIT

Engine Block, Not Illustrated, Consists Of 38 - 45

1шт.

38

A77901

PISTON & RINGS KIT

See Figure 2-42

6шт.

39

A77563

BEARING SET

See Figure 2-42

6шт.

40

J901597

PIN

See Figure 2-42

6шт.

41

J945930

BEARING SET

See Figure 2-40

6шт.

42

J945929

THRUST BEARING

See Figure 2-40

1шт.

43

A77980

SPARE PART SET

See Figure 2-44

1шт.

44

J943366

CYLINDER HEAD GASKET,2.11mm Thk

See Figure 2-82

1шт.

45

A77679

GASKET KIT

See Figure 2-28

1шт.

Выбрано товаров: 64