Запчасти Case IH MX245 (06-05) - PLATE ASSEMBLY - VALVE MOUNTING, TOP (06) - POWER TRAIN

Схема запчастей Case IH MX245 - (06-05) - PLATE ASSEMBLY - VALVE MOUNTING, TOP (06) - POWER TRAIN
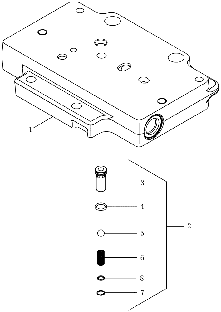
2
8
7
6
1
3
5
4
FIT
1:1
100%

Артикул

Название

Примечание

Количество

87444975

MANIFOLD

Inc. 1 - 8

1шт.

1

87444976

MANIFOLD

1шт.

2

445492A2

CHECK VALVE

Inc. 3 - 8

1шт.

3

NSS

NOT SOLD SEPARAT

BODY

1шт.

4

238-5012

O-RING,0.07" Thk x 0.364" ID, -12, Cl 5, 75 Duro

1шт.

5

211-1009

BALL

9/32; 24,CRS

1шт.

6

445494A1

VALVE SPRING,7.21mm OD x 18.53mm L

1шт.

7

100-2131

SNAP RING,0.312", Int, #31

1шт.

8

86988656

SPRING WASHER,Spring, 5.5mm ID x 7.5mm OD x 1.1mm Thk

1шт.

Выбрано товаров: 9