Запчасти Case IH MX255 (02-12) - WATER PUMP SYSTEM, MX255 AND MX285 (02) - ENGINE

Схема запчастей Case IH MX255 - (02-12) - WATER PUMP SYSTEM, MX255 AND MX285 (02) - ENGINE
2
6
5
18
7
8
1
4
19
9
13
14
11
3
17
16
15
10
12
FIT
1:1
100%

Артикул

Название

Примечание

Количество

J804927

WATER PUMP

Includes 1 - 3

1шт.

87308650R

REMAN-WATER PUMP

MX255, MX285 Reman for New P/N J804927

1шт.

87308650C

CORE-WATER PUMP

Return Number

1шт.

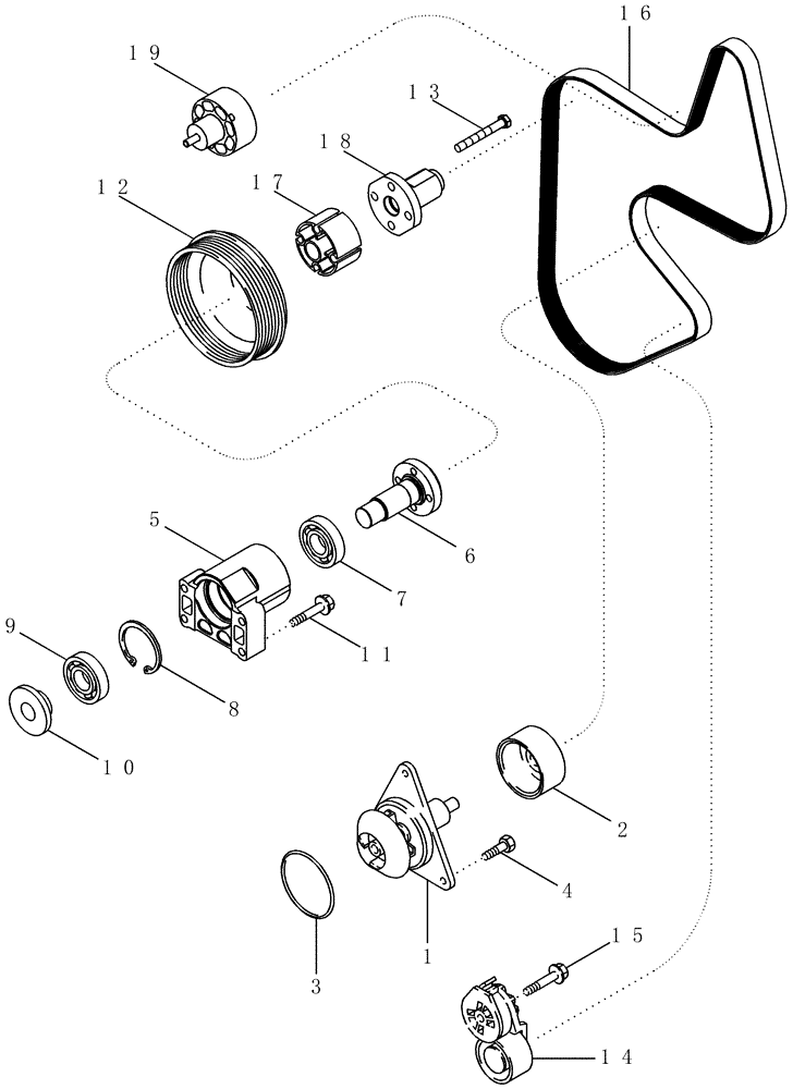
1

NSS

NOT SOLD SEPARAT

Pump

1шт.

2

NSS

NOT SOLD SEPARAT

Pulley

1шт.

3

238-5244

O-RING,0.139" Thk x 4.234" ID, -244, Cl 5, 75 Duro

1шт.

4

J934054

FLANGE BOLT

M8 x 28

3шт.

J945330

SUPPORT

Inc. 5 - 10

1шт.

5

NSS

NOT SOLD SEPARAT

Support

1шт.

6

J934104

HUB

1шт.

7

J933441

BALL BEARING

1шт.

8

100-21244

SNAP RING,2.44", Int, #244

1шт.

9

J933440

BALL BEARING

1шт.

10

J931016

RETAINER

1шт.

11

844-10050

BOLT,Hvy Hex, M10 x 50mm, Cl 8.8

4шт.

12

J914462

PULLEY,163mm OD

1шт.

13

844-10080

BOLT,Hvy Hex, M10 x 80mm, Cl 8.8

M10 x 80; 8.8

4шт.

14

87409564

BELT TENSIONER

1шт.

15

J282433

FLANGE BOLT,Hex, M10 x 1.5 x 85mm

1шт.

16

87402831

BELT,27.92 mm W x 2065.00 mm L, 8 Ribs

1шт.

17

D142327

SPACER

1шт.

18

446890A1

SHAFT

Fan Adapter

1шт.

19

440140A1

PULLEY ASSY.

Idler

1шт.

Выбрано товаров: 23