Запчасти Case IH MX285 (04-37) - GROUND SPEED SENSOR (04) - ELECTRICAL SYSTEMS

Схема запчастей Case IH MX285 - (04-37) - GROUND SPEED SENSOR (04) - ELECTRICAL SYSTEMS
6
5
3
4
2
1
FIT
1:1
100%

Артикул

Название

Примечание

Количество

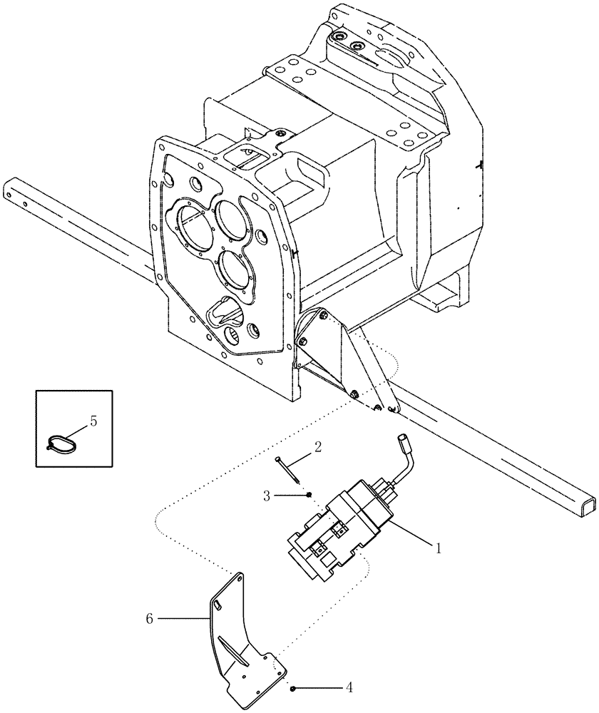
1

228760A1

RADAR

Sensor, True Ground Speed

1шт.

2

814-6100

BOLT,Hex, M6 x 1 x 100mm, Cl 8.8

4шт.

3

895-11006

WASHER,6.6mm ID x 12mm OD x 1.6mm Thk

4шт.

4

825-5146

SERRATED NUT,M6, Flg Ser

4шт.

5

L18337

CABLE TIE,9.95"-12.1" lg

CABLE STRAP 15 in

1шт.

6

412360A1

SUPPORT

1шт.

Выбрано товаров: 6