Запчасти Case IH MX305 (05-11) - VALVE ASSY - SUSPENDED MFD AXLE, ASN Z7RZ05000 (05) - STEERING

Схема запчастей Case IH MX305 - (05-11) - VALVE ASSY - SUSPENDED MFD AXLE, ASN Z7RZ05000 (05) - STEERING
15
13
3
4
4
1
8
10
14
12
11
6
7
2
9
5
FIT
1:1
100%

Артикул

Название

Примечание

Количество

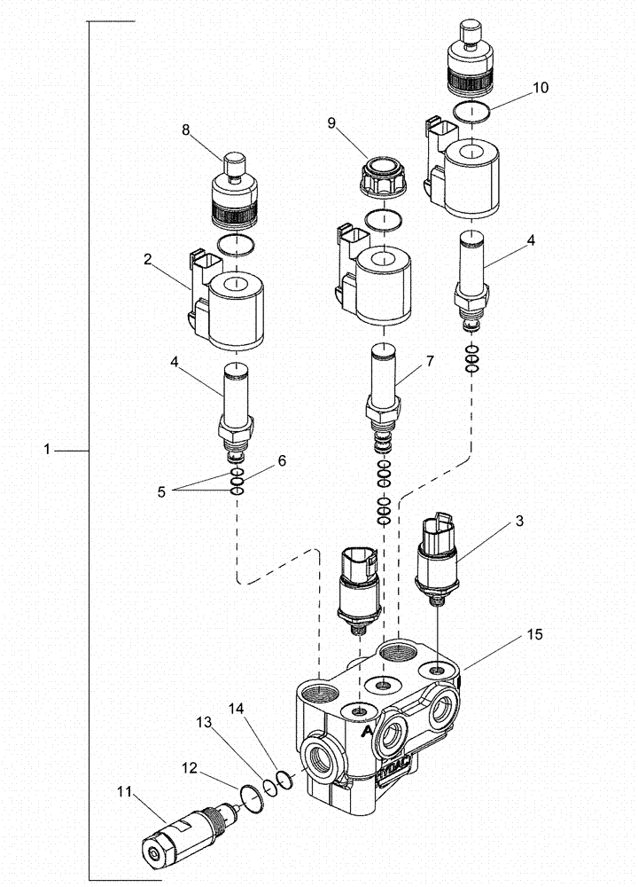
1

87668716

VALVE

Suspended Axle Control, Inc. 2 - 15

1шт.

2

84130917

SOLENOID,68 VDC, 30 Ohm

Solenoid

3шт.

3

84130918

SENSOR

Pressure

2шт.

4

84130919

SOLENOID,Hex 24

2/2 Cartridge Valve without Coil, Seat Type

2шт.

4

47608392

SEAL KIT

2/2 Cartridge Valve

1шт.

5

NSS

NOT SOLD SEPARAT

O-RING

8шт.

6

NSS

NOT SOLD SEPARAT

O-RING

4шт.

7

84130920

SOLENOID,Hex 7/8"

3/2 Cartridge Valve without Coil, Spool Type

1шт.

7

84419450

SERVICE KIT

Seal Kit, 3/2 Cartridge Valve

1шт.

8

84130922

CAP

Manual Override

2шт.

9

NSS

NOT SOLD SEPARAT

CAP

1шт.

10

637-63173

O-RING,2.2mm Thk x 17.3mm ID, Cl 6, 75 Duro

3шт.

11

84130921

VALVE PRESSURE RELIE

1шт.

11

47608392

SEAL KIT

Relief Valve

1шт.

12

NSS

NOT SOLD SEPARAT

O-RING

1шт.

13

NSS

NOT SOLD SEPARAT

O-RING

1шт.

14

NSS

NOT SOLD SEPARAT

O-RING

1шт.

15

NSS

NOT SOLD SEPARAT

BODY, VALVE

1шт.

Выбрано товаров: 18