Запчасти Case IH MX305 (02-10) - FLYWHEEL SHIELDS, ASN Z6RZ02948 (02) - ENGINE

Схема запчастей Case IH MX305 - (02-10) - FLYWHEEL SHIELDS, ASN Z6RZ02948 (02) - ENGINE
7
4
13
2
3
7
6
9
9
10
5
8
12
12
11
13
11
1
FIT
1:1
100%

Артикул

Название

Примечание

Количество

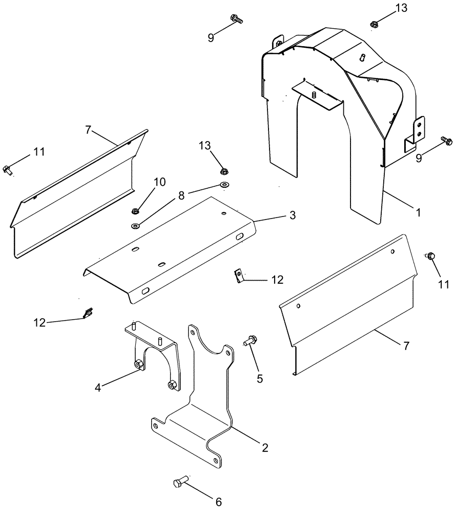
1

87522079

SHIELD

1шт.

2

87530413

BRACKET

1шт.

3

87530410

SHIELD

1шт.

4

87533238

MOUNTING PLATE

1шт.

5

844-10025

BOLT,Hex, M10 x 25mm, Cl 8.8

2шт.

6

614-12030

BOLT,Hex, M12 x 1.75 x 30mm, Cl 8.8, Full Thd

4шт.

7

87530412

SHIELD

2шт.

8

895-15008

WASHER,9mm ID x 20mm OD x 1.6mm Thk

3шт.

9

844-8025

BOLT,Hvy Hex, M8 x 25mm, Cl 8.8

4шт.

10

825-2408

FLANGE NUT,M8 x 1.25, Flg, Cl 8

2шт.

11

844-8016

BOLT,Hex, M8 x 16mm, Cl 8.8

4шт.

12

833-41308

SPRING NUT,M8, U

4шт.

13

832-10408

NUT,M8 x 1.25, Cl 8.8

2шт.

Выбрано товаров: 13