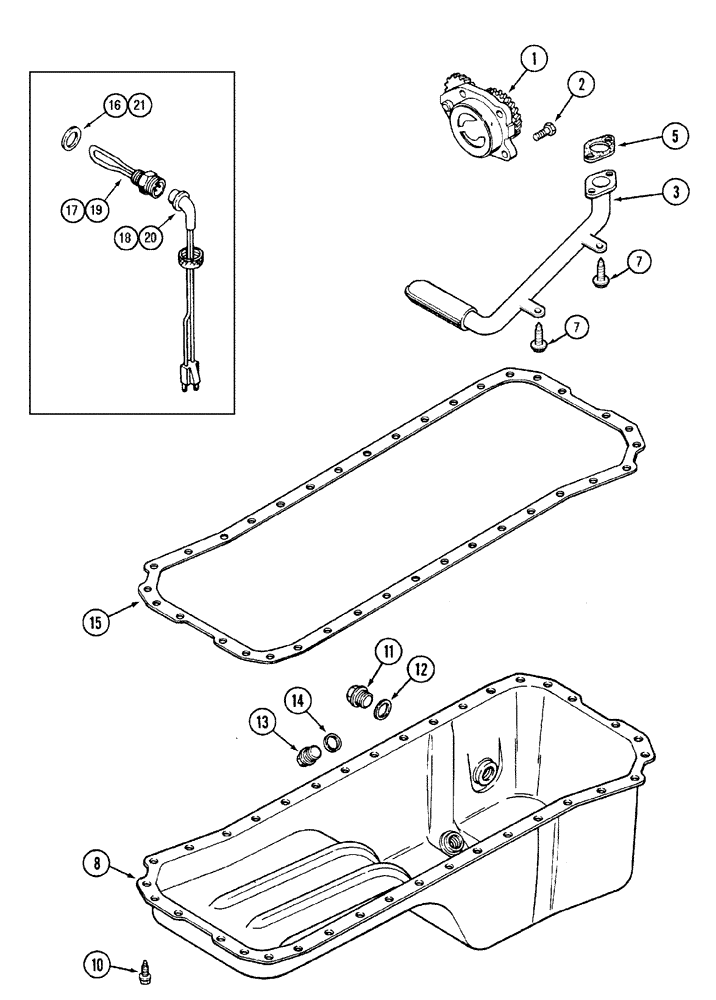
Запчасти Case IH MX110 (02-22) - OIL PUMP AND OIL PAN (02) - ENGINE

Схема запчастей Case IH MX110 - (02-22) - OIL PUMP AND OIL PAN (02) - ENGINE
19
1
14
12
10
18
13
2
16
5
7
21
8
11
3
15
17
20
7
FIT
1:1
100%

Артикул

Название

Примечание

Количество

1

J941742

PUMP, ENGINE OIL

1шт.

JR937404

REMAN-ENG OIL PUMP

REMAN-ENGINE OIL PUMP Remanufactured ENGINE OIL PUMP - For N.A. Only

1шт.

JC937404

CORE-ENGINE OIL PUMP

CORE-ENGINE OIL PUMP Return number - For N.A. only

1шт.

2

J900677

BOLT,Hex

M8 x 30

4шт.

3

J921992

TUBE,25.4 mm OD x 359, 234 mm L

1шт.

A77676

GASKET KIT

Includes 5,14,15

1шт.

5

J914383

GASKET

1шт.

7

J907860

FLANGE BOLT,Hex, M8 x 25mm, Spcl

4шт.

8

J915703

PAN, ENGINE OIL

PAN, OIL

1шт.

10

J920400

FLANGE BOLT,Hex, M8 x 1.25 x 21mm, Gr 8.8

M8 x 25

36шт.

11

J924148

PLUG,M22 x 1.5

M22

1шт.

12

J902425

SEALING WASHER,22.2mm ID x 26.9mm OD x 1.75mm Thk

1шт.

13

J924147

PLUG,M18 x 1.5

M18, Magnetic

1шт.

14

J920773

SEALING WASHER

1шт.

15

NSS

NOT SOLD SEPARAT

Seal, Order A77676

1шт.

16

J902425

SEALING WASHER,22.2mm ID x 26.9mm OD x 1.75mm Thk

1шт.

17

J904380

UNIT HEATER

120V/150w

1шт.

18

196466A1

ELECTRIC CABLE

1829 mm (72 in)

1шт.

19

J904381

RESISTOR

240V/150w, Europe Only

1шт.

20

J905114

ELECTRIC CABLE

240V/6 ft

1шт.

21

J902425

SEALING WASHER,22.2mm ID x 26.9mm OD x 1.75mm Thk

1шт.

Выбрано товаров: 21