Запчасти Case IH MX150 (09-39) - STEPS (90) - PLATFORM, CAB, BODYWORK AND DECALS

Схема запчастей Case IH MX150 - (09-39) - STEPS (90) - PLATFORM, CAB, BODYWORK AND DECALS
12
1
4
10
5
6
11
7
9
4
8
3
FIT
1:1
100%

Артикул

Название

Примечание

Количество

Europe Only

1шт.

Right

1шт.

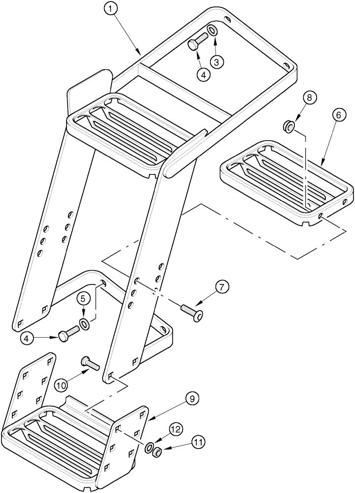
1

236860A5

STEP

Upper

1шт.

6

1531337C1

STEP

1шт.

7

259567A1

SCREW

M8x20;10,9

4шт.

8

825-5148

SERRATED NUT,M8, Flg Ser

4шт.

9

223760A2

STEP

Lower

1шт.

10

811-10030

CARRIAGE BOLT,Sht Sq Nk, M10 x 1.5 x 30mm, Cl 8.8

4шт.

11

829-1410

NUT,M10 x 1.5, Cl 10.9

4шт.

4

627-10030

BOLT,Hex, M10 x 1.5 x 30mm, Cl 10.9, Full Thd

4шт.

3

895-15010

WASHER,11mm ID x 24mm OD x 2mm Thk

2шт.

5

895-15010

WASHER,11mm ID x 24mm OD x 2mm Thk

2шт.

12

895-15010

WASHER,11mm ID x 24mm OD x 2mm Thk

4шт.

Выбрано товаров: 13