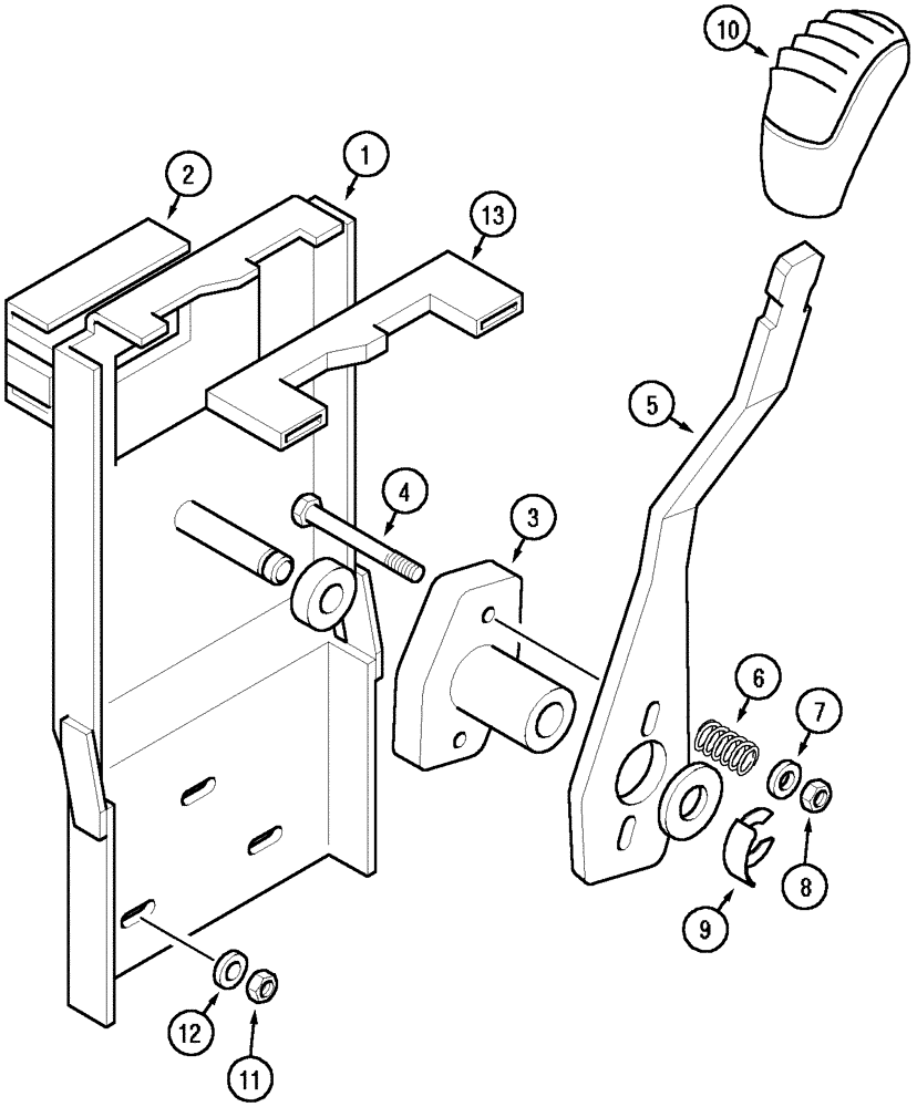
Запчасти Case IH MX150 (06-31) - P.T.O. CONTROL (21) - TRANSMISSION

Схема запчастей Case IH MX150 - (06-31) - P.T.O. CONTROL (21) - TRANSMISSION
7
13
10
8
4
12
1
5
3
11
6
9
2
FIT
1:1
100%

Артикул

Название

Примечание

Количество

Clutch

1шт.

241337A3

LEVER ASSY.

Consists Of 1 - 9,13

1шт.

1

NSS

NOT SOLD SEPARAT

Bracket Assy

1шт.

2

175131A1

SWITCH

1шт.

3

175312A1

SUPPORT

1шт.

4

814-6035

BOLT,Hex, M6 x 1 x 35mm, Cl 8.8

2шт.

5

241331A1

LEVER

1шт.

6

110945A1

SPRING

2шт.

7

895-11008

WASHER,9mm ID x 16mm OD x 1.6mm Thk

2шт.

8

832-10406

NUT,M6 x 1, Cl 8

2шт.

9

240908A1

CLIP,ELECTRICAL

1шт.

10

118702A2

BALL KNOB

1шт.

11

829-1406

NUT,Hex, M6 x 1, Cl 10.9

3шт.

12

895-11006

WASHER,6.6mm ID x 12mm OD x 1.6mm Thk

3шт.

13

NSS

NOT SOLD SEPARAT

Insert

1шт.

Выбрано товаров: 0