Запчасти Case IH MX100C (09-62) - HITCH LOWER LIFT LINKS, TELESCOPIC, N.A. ONLY (09) - CHASSIS

Схема запчастей Case IH MX100C - (09-62) - HITCH LOWER LIFT LINKS, TELESCOPIC, N.A. ONLY (09) - CHASSIS
8
10
3
5
7
4
1
2
6
9
FIT
1:1
100%

Артикул

Название

Примечание

Количество

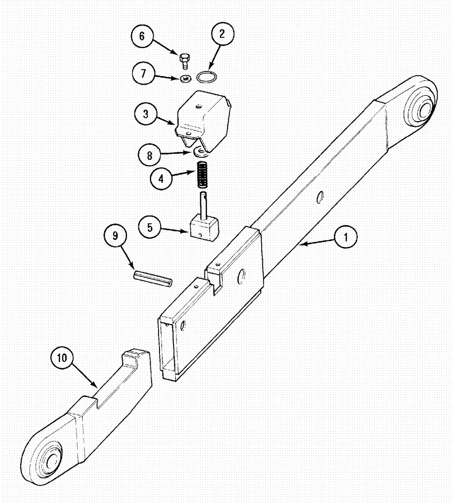
280345A1

LOWER LINK

left, consists of: 1 - 10

1шт.

280346A1

LOWER LINK

right, consists of: 1A - 10A

1шт.

1

251610A1

LOWER LINK

front, left

1шт.

1a

251613A1

LOWER LINK

front, right

1шт.

120974A1

LATCH ASSY.

consists of: 2 - 7

1шт.

2

1965556C1

RING

1шт.

3

120975A1

COVER

1шт.

4

113774A1

SPRING

1шт.

5

120976A1

PIN

1шт.

6

628-6016

BOLT,Hex, M6 x 16mm, Cl 10.9, Full Thd

2шт.

7

896-11006

WASHER,6.6mm ID x 12.5mm OD x 2mm Thk

2шт.

8

1348138C1

SPRING WASHER

1шт.

9

932759R1

LOCK PIN,M12 x 45, Slotted

1шт.

10

251621A1

END FITTING

rear, left

1шт.

10a

251623A1

END FITTING

rear, right

1шт.

Выбрано товаров: 15