Запчасти Case IH MX80C (04-34) - ROTATING BEACON AND SUPPORT, EUROPE ONLY (04) - ELECTRICAL SYSTEMS

Схема запчастей Case IH MX80C - (04-34) - ROTATING BEACON AND SUPPORT, EUROPE ONLY (04) - ELECTRICAL SYSTEMS
13
12
9
4
11
1
8
7
5
6
3
2
10
FIT
1:1
100%

Артикул

Название

Примечание

Количество

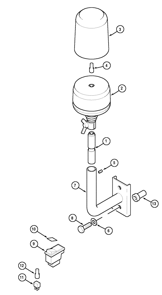
1

244106A1

ELEC CONNECTOR

1шт.

2

175048A1

BEACON

Includes: 3, 4

1шт.

3

192809A1

LENS

1шт.

4

3125705R1

BULB

12V/55W

1шт.

5

877-1066

SET SCREW,M6 x 6mm

1шт.

6

895-11008

WASHER,9mm ID x 16mm OD x 1.6mm Thk

2шт.

7

189867A1

SUPPORT ASSY.

1шт.

8

614-8025

BOLT,Hex, M8 x 1.25 x 25mm, Cl 8.8, Full Thd

2шт.

9

194112A1

SWITCH ASSY

Includes: 10, 11

1шт.

10

1983276C1

SYMBOLS

SYMBOL

1шт.

11

134608A1

LAMP SOCKET

Includes: 12

1шт.

12

3141107R1

BULB,W5/1.2, 12V, 1.2W

1шт.

13

F35448

RIVET,8mm OD x 18mm L

8 mm

2шт.

Выбрано товаров: 0