Запчасти Case IH MX90C (09-08) - FENDERS FRONT WHEEL (09) - CHASSIS

Схема запчастей Case IH MX90C - (09-08) - FENDERS FRONT WHEEL (09) - CHASSIS
10
2
3
16
4
5
7
12
15
11
13
3
9
3
6
8
14
1
FIT
1:1
100%

Артикул

Название

Примечание

Количество

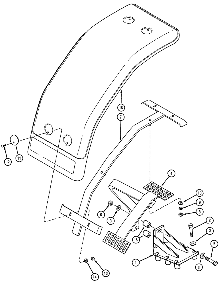
1

182268A2

SUPPORT ASSY.

(Shown) Has 6 legs

2шт.

1

337424A1

SUPPORT ASSY.

Has 2 Legs

2шт.

2

828-16070

BOLT,Hex, M16 x 2 x 70mm, Cl 10.9

8шт.

3

896-11016

WASHER,17.5mm ID x 30mm OD x 4mm Thk

14шт.

4

1340675C1

SUPPORT

right

1шт.

4

1340676C1

SUPPORT

left

1шт.

5

814-16110

BOLT,Hex, M16 x 2 x 110mm, Cl 8.8

4шт.

6

832-10416

NUT,M16 x 2, Cl 8

4шт.

7

1340671C1

SUPPORT

small

2шт.

7

136309A1

SUPPORT

wide

2шт.

8

425-108

NUT,1/2" - 13, Gr 5

4шт.

9

80679

LOCK WASHER,1/20.507 CST ZND

4шт.

10

495-21056

WASHER,1/2"

9/16 x 1-3/8 x 7/64

4шт.

11

1340559C2

SQ HOLE WASHER,8.71mm ID x 63.5mm OD x 4.76mm Thk

2-1/2

1шт.

12

434-520

CARRIAGE BOLT,Sht Sq Nk, 5/16" - 18 x 1 1/4", Gr 5

5/16 x 1-1/4

1шт.

13

425-105

NUT,5/16"-18, G5

1шт.

14

495-21038

WASHER,5/16"

(flat, 3/8 x 7/8 x 3/32")

1шт.

15

1340558C1

SPACER

4шт.

16

1340664C1

FENDER

470 mm

2шт.

16

122212A1

FENDER

600 mm

2шт.

Выбрано товаров: 20