Запчасти Case IH MX90C (09-73) - P.T.O. SHIELD, N.A. ONLY (09) - CHASSIS

Схема запчастей Case IH MX90C - (09-73) - P.T.O. SHIELD, N.A. ONLY (09) - CHASSIS
10
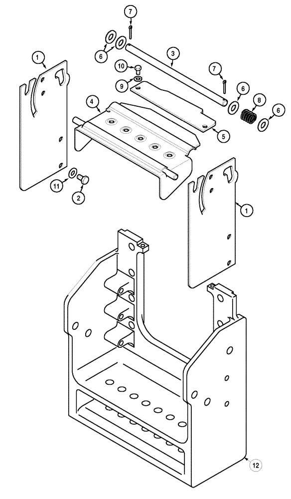
1
1
12
6
9
5
6
7
2
4
8
6
3
7
11
FIT
1:1
100%

Артикул

Название

Примечание

Количество

1

244952A2

LARGE PLATE

PLATE, LARGE

1шт.

2

614-12025

BOLT,Hex, M12 x 1.75 x 25mm, Cl 8.8, Full Thd

4шт.

3

224463A1

STEM

1шт.

4

244950A1

PROTECTOR

1шт.

5

245410A1

LARGE PLATE

PLATE, LARGE

1шт.

6

895-11016

WASHER,17.5mm ID x 30mm OD x 3mm Thk

4шт.

7

733-4032

COTTER PIN,M4 x 32

2шт.

8

179657A2

SPRING

1шт.

9

895-11008

WASHER,9mm ID x 16mm OD x 1.6mm Thk

2шт.

10

615-8025

BOLT,Hex, M8 x 1.25 x 25mm, Cl 8.8, Full Thd

2шт.

11

895-11012

WASHER,13.5mm ID x 24mm OD x 2.5mm Thk

4шт.

12

238493A1

SUPPORT ASSY.

1шт.

Выбрано товаров: 12