Запчасти Case IH MXM120 (1.21.0[03]) - HOUSING, GEARS (03) - TRANSMISSION

Схема запчастей Case IH MXM120 - (1.21.0[03]) - HOUSING, GEARS (03) - TRANSMISSION
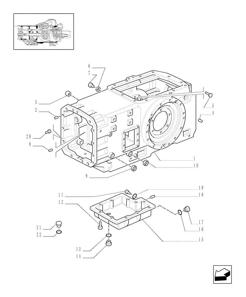
13
18
4
12
21
19
11
22
5
3
1
7
8
9
14
16
2
17
15
20
10
6
FIT
1:1
100%

Артикул

Название

Примечание

Количество

1

5188806

TRANSMISSION HOUSING

MXM120, MXM130

1шт.

1

5186286

HOUSING

MXM140, MXM155

1шт.

1

5186644

HOUSING

MXM120, MXM130, MXM140, Serial Range: -C5156

1шт.

W/Mec. Trans. 20 x 16 (40 KPH)

1шт.

1

87311280

TRANSMISSION HOUSING

MXM120,MXM130,MXM140, Start Serial: D5156

1шт.

W/Mec. Trans. 20 x 16

1шт.

2

4985062

DOWEL,15mm OD x 25mm L

M15 x 25

4шт.

3

5173164

BUSHING,12.5mm ID x 15mm OD x 10mm L

2шт.

4

5110200

DOWEL,12mm OD x 25mm L

M12 x 25

10шт.

5

14306524

HEX SOC SCREW,M8 x 1.25 x 30mm, Cl 8.8, Full Thd

1шт.

6

10263460

SEAL,22.3mm ID x 28mm OD x 1.5mm Thk

1шт.

7

10305171

PLUG,M22 x 1.5 x 21

1шт.

8

10839710

DOWEL,M10 x 15.00mm

M10 x 15

2шт.

9

14328701

PLUG,M20, Tapered

2шт.

10

14328501

PLUG,M16, Tapered

1шт.

11

10119414

PLUG,M18 x 1.5 x 16

1шт.

12

11306924

BOLT,Hex, M10 x 1.25 x 30, 8.8, Full Thd

9шт.

13

14438285

O-RING,29.5mm ID x 3.0mm

1шт.

14

10119511

PLUG,M33 x 2 x 16, Cl5.8

1шт.

15

5183815

COVER

, Serial Range: -C4806

1шт.

15

47127712

COVER

, Start Serial: D4806

1шт.

15

5182597

COVER

MXM120, MXM130, MXM140

1шт.

W/Mec. Trans. 20 x 16 (40 KPH)

1шт.

16

89626929

O-RING,0.116" Thk x 1.048" ID, -914, Cl 6, 90 Duro

90 Duro, 1.048" ID x .116" Thk

1шт.

17

5185747

PLUG,1"13/16-12

1-3/16"-12UN

1шт.

18

10275550

PLUG

M12 x 1.25

1шт.

19

14437985

O-RING,15.3mm ID x 2.4mm

1шт.

20

15840534

BOLT,Hex, M16 x 1.5 x 50mm, Cl 10.9, Full Thd

10шт.

20

15860131

SCREW,Hex, M14 x 1.5 x 50mm, Cl 10.9

4шт.

20

11391534

BOLT,Hex, M16 x 1.5 x 45, 10.9, Full Thd

MXM120, MXM130, MXM140

6шт.

W/Mec. Trans. 20 x 16 (40 KPH)

1шт.

20

11394331

BOLT,Hex, M14 x 1.5 x 45, 8.8, Full Thd

MXM120, MXM130, MXM140

4шт.

W/Mec. Trans. 20 x 16 (40 KPH)

1шт.

20

15835234

BOLT,Hex, M16 x 1.5 x 70mm, Cl 10.9

MXM120, MXM130, MXM140

2шт.

W/Mec. Trans. 20 x 16 (40 KPH)

1шт.

21

10119011

PLUG,M27 x 2 x 20, Cl5.8

, Start Serial: D4806

1шт.

22

14438185

O-RING,24mm ID x 3mm

, Start Serial: D4806

1шт.

Выбрано товаров: 37