Качественные детали и логистика
Оригинальные и аналоговые запчасти с доставкой по России, Казахстану и Беларуси
©2022 PartSell ООО "Система" ИНН 2463123282 ОГРН 1212400004838
Центральный офис: г. Красноярск, Академика Киренского, д.87, пом.4
Телефон: 8 (800) 777-65-74 Email: zakaz@partsell.ru
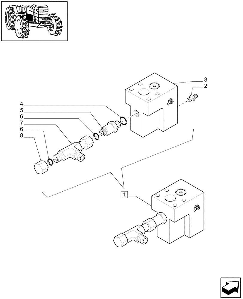
(1.32.8/04B) - (VAR.481) 150 L/MIN PUMP CCLS W/EDC - VALVE - BREAKDOWN
№
Артикул
Название
Примечание
Количество
1
47134656
HYDRAULIC VALVE
Assy
1шт.
2
5185041
HYD CONNECTOR,1"3/16-12 ORFS x M22 x 1.5 ORB
3
47133945
Priority
4
14438085
O-RING,19.3mm ID x 2.4mm
5
5199935
HYD CONNECTOR
6
5185512
O-RING,0.07" Thk x 0.614" ID, -16, Cl 6, 90 Duro
7
47134655
TEE,1"-14 ORFS x 1"-14 ORFS x 1"-14
8
83987627
CAP,1-14UN-2A
Выбрано товаров: 0