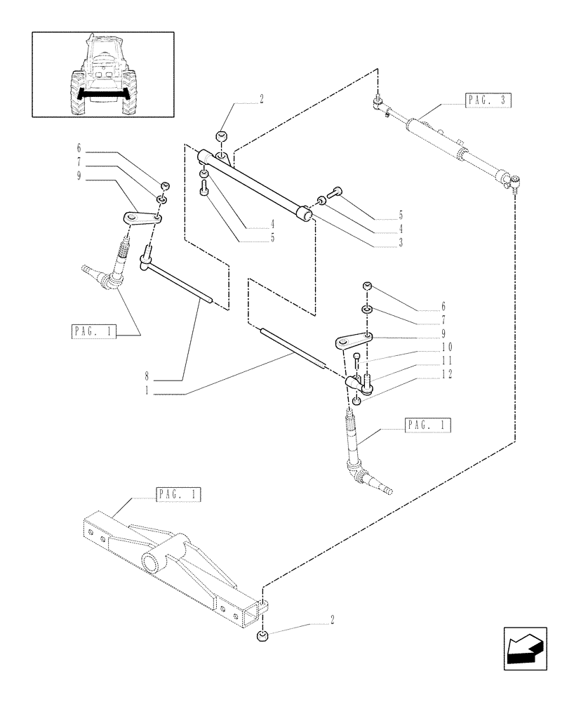
Запчасти Case IH MXU100 (1.41.0[02]) - 2WD FRONT AXLE - TIE-ROD (04) - FRONT AXLE & STEERING

Схема запчастей Case IH MXU100 - (1.41.0[02]) - 2WD FRONT AXLE - TIE-ROD (04) - FRONT AXLE & STEERING
5
1
11
2
5
12
9
9
pag. 3
6
4
pag. 1
3
pag. 1
8
2
10
4
7
7
pag. 1
6
FIT
1:1
100%

Артикул

Название

Примечание

Количество

1

81868963

STEERING TIE-ROD

1шт.

2

82894839

LOCK NUT,7/8"-14

2шт.

3

81864095

TUBE,36.3" Length

1шт.

4

80087313

NUT

3/4"-16

2шт.

5

81864102

CAPSCREW

2шт.

6

83983312

LOCK NUT

3/4"-16

2шт.

7

83948952

DUST CAP

2шт.

8

81864106

TRACK ROD END ASSY

1шт.

9

82029585

ARM

RH

1шт.

9

82029584

ARM

LH

1шт.

10

81821288

BOLT,Hex, 1/2" - 13 x 1-7/8", Gr 5

Cap, HH, G5, 1/2"-13 x 1-7/8"

1шт.

11

81864100

BALL JOINT

1шт.

12

80280431

NUT

G5, 1/2"-13

1шт.

Выбрано товаров: 13