Запчасти Case IH MXU110 (1.29.9/01) - (VAR.110-120) TRANSMISSION 12X12 - GEARBOX CLUTCH HOUSING COVER (03) - TRANSMISSION

Схема запчастей Case IH MXU110 - (1.29.9/01) - (VAR.110-120) TRANSMISSION 12X12 - GEARBOX CLUTCH HOUSING COVER (03) - TRANSMISSION
FIT
1:1
100%

Артикул

Название

Примечание

Количество

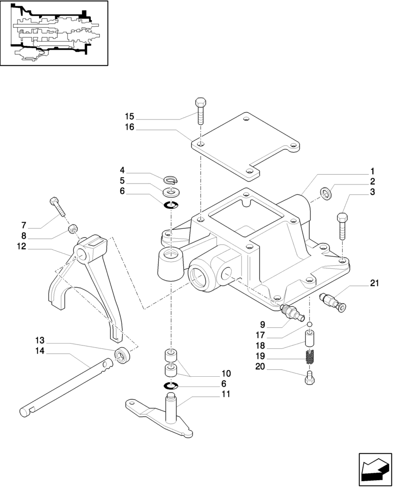
1

82031671

COVER

1шт.

2

83417039

PLUG

1шт.

3

11306924

BOLT,Hex, M10 x 1.25 x 30, 8.8, Full Thd

5шт.

3

11343724

BOLT,Hex, M10 x 1.25 x 65mm, Cl 8.8

1шт.

4

11066076

SNAP RING,M12, Ext

1шт.

5

14496721

WASHER,13mm ID x 24mm OD x 2.5mm Thk

1шт.

6

14457281

O-RING,0.612" ID x 0.103" Width

2шт.

7

82019918

SCREW,Hex, M10 x 1.5 x 26mm, Stainless

2шт.

8

82895198

NUT,Jam, Hex, M10, 5mm High, CL 04

2шт.

9

82020684

SWITCH ASSY

Mechanical Shuttle, Serial Range: -C5246

1шт.

Shift Rail Position, Red

1шт.

10

5165609

BUSHING,16.04mm ID x 18mm OD x 15mm L

2шт.

11

82022908

LEVER

1шт.

12

82007504

SHIFTER FORK

1шт.

13

5165599

GASKET,24mm ID x 35mm OD x 9mm Thk

24 x 35 x 9

1шт.

14

82031673

ROD

1шт.

15

15970524

BOLT,Hex, M10 x 1.25 x 20mm, Cl 8.8, Full Thd

2шт.

15

15971824

SCREW,Hex, M10 x 1.25 x 100mm, Cl 8.8

2шт.

16

82019916

COVER

1шт.

17

88210005

BALL,10mm OD

D=10

1шт.

18

81864220

PLUNGER

1шт.

19

83407013

SPRING

1шт.

20

87378187

SUPPORT

1шт.

21

87369252

SWITCH ASSY

Mechanical Shuttle, Start Serial: D5246

1шт.

Shift Rail Position, Red

1шт.

Выбрано товаров: 25