Запчасти Case IH MXU115 (1.32.8/04[01]) - (VAR.831-831/1) CCLS WITH 2 MECHANICAL CONTROL VALVE - PUMPS FOR HYDRAULIC SYSTEM AND LIFT (03) - TRANSMISSION

Схема запчастей Case IH MXU115 - (1.32.8/04[01]) - (VAR.831-831/1) CCLS WITH 2 MECHANICAL CONTROL VALVE - PUMPS FOR HYDRAULIC SYSTEM AND LIFT (03) - TRANSMISSION
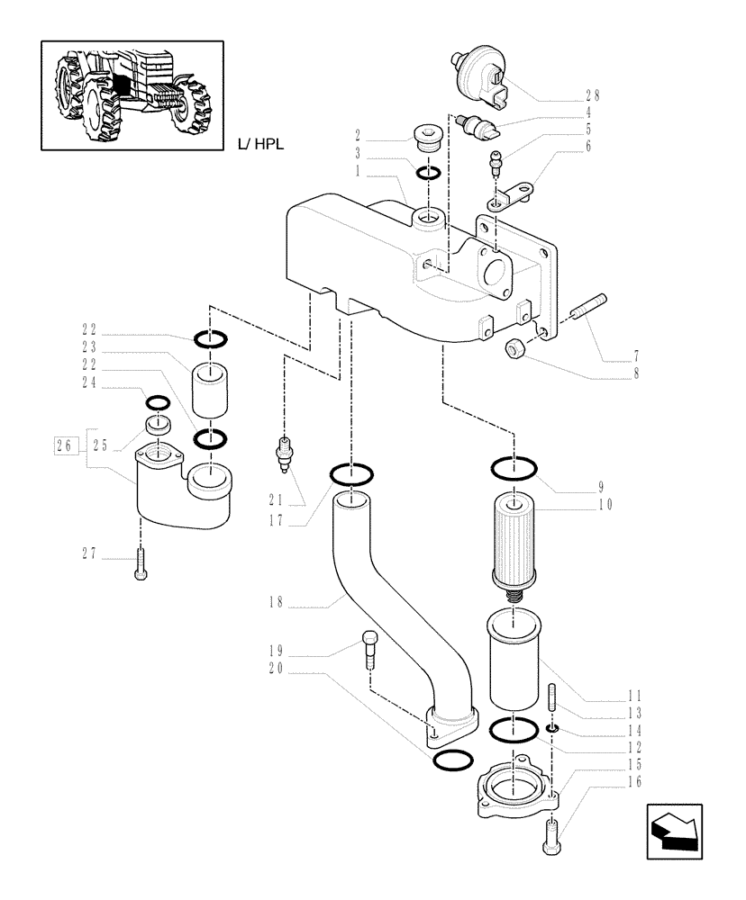
24
1
25
13
7
9
12
22
26
8
21
5
15
20
27
18
22
6
23
19
10
28
16
14
2
17
3
11
4
FIT
1:1
100%

Артикул

Название

Примечание

Количество

1

5198194

SUPPORT

1шт.

2

10119040

PLUG,M27 x 2 x 20, Brass

1шт.

3

14438185

O-RING,24mm ID x 3mm

1шт.

4

82025340

RESTRICTION SWITCH

Vacuum, Serial Range: -C5240

1шт.

5

5153030

BLEED SCREW,Bleeder, Hex, M8 x 1.25 x 25mm

1шт.

6

47129062

PLATE

1шт.

7

13449424

STUD

M10 x 1.5 x 22

3шт.

8

12164714

NUT,M10 x 1.25, Cl 8

3шт.

9

14466480

O-RING,0.139" Thk x 4.484" ID, -246, Cl 5, 75 Duro

1шт.

10

47131183

ELEMENT

INCL.9

1шт.

11

5196564

HOUSING

1шт.

12

14466381

O-RING,0.139" Thk x 4.359" ID, -245, Cl 6, 75 Duro

1шт.

13

13517630

STUD

M8 x 12 x 50

3шт.

14

13397776

SNAP RING,M16, Int

3шт.

15

5196502

RING

1шт.

16

5196481

NUT,M8 x 1.25

3шт.

17

14471580

O-RING,0.21" Thk x 2.35" ID, -332, Cl 5, 75 Duro

1шт.

18

47128307

TUBE

1шт.

19

47128257

BOLT

1шт.

20

14464481

O-RING,0.139" Thk x 1.984" ID, -226, Cl 7, 75 Duro

1шт.

21

82028134

SWITCH ASSY

Oil Temperature

1шт.

22

14464580

O-RING,0.139" Thk x 2.109" ID, -227, Cl 5, 75 Duro

2шт.

23

5196785

TUBE

1шт.

24

14464280

O-RING,0.139" Thk x 1.734" ID, -224, Cl 5, 75 Duro

1шт.

25

5198578

RING,42mm ID x 45mm OD x 7.8mm Thk

1шт.

26

5198668

MANIFOLD

1шт.

27

16045024

BOLT,Hex, M8 x 1.25 x 90mm, Cl 8.8

2шт.

28

87303771

PRESSURE SWITCH

Vacuum, Start Serial: D5240

1шт.

Выбрано товаров: 28