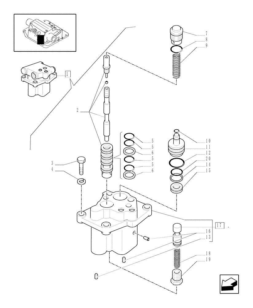
Запчасти Case IH MXU115 (1.82.4/01[01]) - (VAR.350) CCLS FOR TRANSMISSION 16X16 - LS VALVE - BREAKDOWN (07) - HYDRAULIC SYSTEM

Схема запчастей Case IH MXU115 - (1.82.4/01[01]) - (VAR.350) CCLS FOR TRANSMISSION 16X16 - LS VALVE - BREAKDOWN (07) - HYDRAULIC SYSTEM
2
16
9
5
1
3
6
11
13
6
17
7
4
20
5
15
10
12
8
19
5
18
14
5
FIT
1:1
100%

Артикул

Название

Примечание

Количество

1

47135710

CONTROL VALVE

1шт.

2

5179745

HYDRAULIC VALVE

1шт.

3

16043834

BOLT,Hex, M8 x 1.25 x 30mm, Cl 10.9, Full Thd

4шт.

4

10516674

LOCK WASHER,M8

4шт.

5

5135738

O-RING,0.103" Thk x 0.674" ID, -115, 80 Duro

4шт.

6

5117726

WASHER,17.83mm ID x 22.19mm OD x 1.14mm Thk

3шт.

7

5150765

PLUG

1шт.

8

14453981

O-RING,0.989" ID x 0.07" Width

1шт.

9

4973361

SPRING,Compression, 15.5mm OD x 50.5mm L

1шт.

10

14452581

O-RING,0.176" ID x 0.07" Width

1шт.

11

5150766

CONTROL UNIT

1шт.

12

14457981

O-RING,1.049" ID x 0.103" Width

1шт.

13

10269150

PLUG,M6 x 1 x 60mm L

M6X1

1шт.

14

5150752

GUIDE RING,19.3mm ID x 26mm OD x 3.3mm Thk

D=26X3,2

1шт.

15

5150759

PISTON

1шт.

16

5162458

PLUG,M10 x 1.25

M10X1,25

2шт.

17

5155834

BODY

1шт.

18

5117729

SPRING,Compression, 11mm OD x 44mm L

1шт.

19

5117734

PLUG,M20 x 1.5

1шт.

20

5135739

O-RING,0.737" ID x 0.943" OD x 0.103"

1шт.

Выбрано товаров: 20