Запчасти Case IH OPTUM 270 CVT (35.204.020) - VAR - 758064, 758066 - MID-MOUNT CONTROL VALVE, PIPE, LINES (35) - HYDRAULIC SYSTEMS

Схема запчастей Case IH OPTUM 270 CVT - (35.204.020) - VAR - 758064, 758066 - MID-MOUNT CONTROL VALVE, PIPE, LINES (35) - HYDRAULIC SYSTEMS
35.204.040
3
4
7
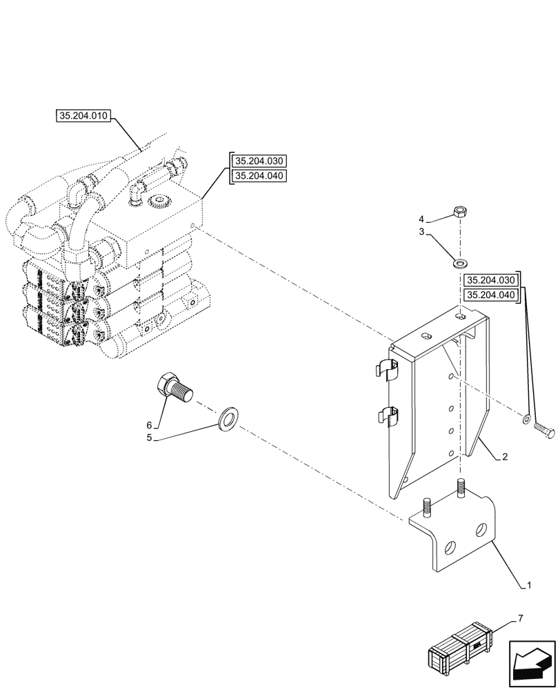
1
2
5
6
35.204.010
35.204.030
35.204.030
35.204.040
FIT
1:1
100%

Артикул

Название

Примечание

Количество

1

47725901

BRACKET

1шт.

2

47725904

SUPPORT

1шт.

3

13550401

WASHER,10.5mm ID x 21mm OD x 2mm Thk

2шт.

4

86500689

NUT,M10 x 1.5, Cl 10

2шт.

5

86511327

WASHER,21mm ID x 37mm OD x 3mm Thk

2шт.

6

73172048

BOLT,Hex, M20 x 2.5 x 35mm, Cl 8.8, Full Thd

2шт.

7

731004014

DIA KIT, TRACTOR

Elec. Mid Mount Kit 1 Valve, Incl 1 - 8

1шт.

To See Full DIA KIT Composition Look for all the Figures Where the DIA KIT P/N Is Shown

1шт.

7

731008014

DIA KIT, TRACTOR

Elec. Mid Mount Kit 3 Valves, Incl 1 - 8

1шт.

To See Full DIA KIT Composition Look for all the Figures Where the DIA KIT P/N Is Shown

1шт.

Выбрано товаров: 10