Запчасти Case IH OPTUM 270 CVT (35.204.030) - VAR - 758064 - 1 MID-MOUNT CONTROL VALVE (35) - HYDRAULIC SYSTEMS

Схема запчастей Case IH OPTUM 270 CVT - (35.204.030) - VAR - 758064 - 1 MID-MOUNT CONTROL VALVE (35) - HYDRAULIC SYSTEMS
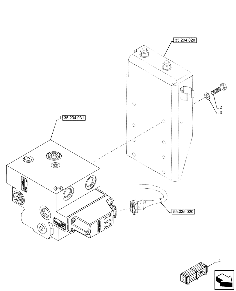
55.035.020
3
4
1
2
35.204.031
35.204.020
FIT
1:1
100%

Артикул

Название

Примечание

Количество

1

47467814

CONTROL VALVE

Hydraulic, EMMV 1XEHS1

1шт.

2

16043411

BOLT,Hex, M8 x 1.25 x 20mm, Cl 5.8, Full Thd

4шт.

3

12646701

WASHER,8.15mm ID x 20mm OD x 2mm Thk

4шт.

4

731004014

DIA KIT, TRACTOR

Elec. Mid Mount Kit 1 Valve, Incl 1 - 3

1шт.

To See Full DIA KIT Composition Look for all the Figures Where the DIA KIT P/N Is Shown

1шт.

Выбрано товаров: 5