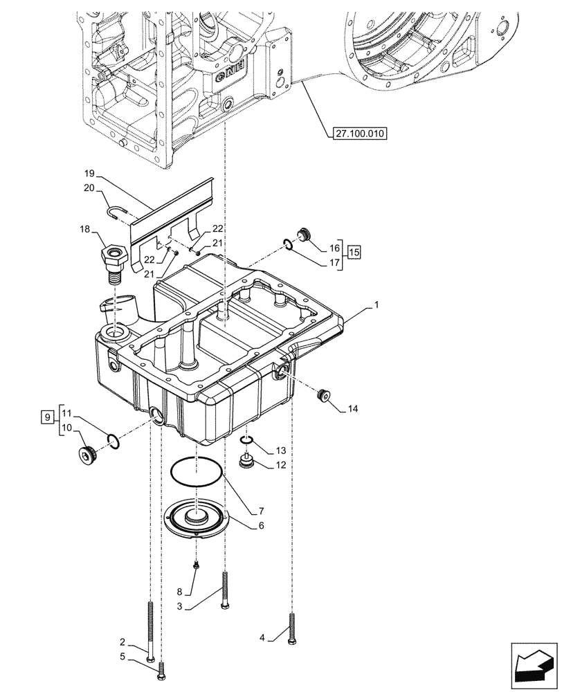
Запчасти Case IH OPTUM 300 CVT (23.202.030) - VAR - 391138, 758022, 758870, 759053 - DROP BOX (23) - FOUR WHEEL DRIVE SYSTEM

Схема запчастей Case IH OPTUM 300 CVT - (23.202.030) - VAR - 391138, 758022, 758870, 759053 - DROP BOX (23) - FOUR WHEEL DRIVE SYSTEM
27.100.010
11
1
4
21
8
16
10
14
7
12
15
13
5
9
3
22
19
2
17
21
22
18
6
20
FIT
1:1
100%

Артикул

Название

Примечание

Количество

1

47681167

COVER

1шт.

2

15542534

BOLT,Hex, M12 x 1.25 x 190mm, Cl 10.9

6шт.

3

15541734

SCREW,M12 x 1.25 x 110mm, Cl 10.9

1шт.

4

15541534

BOLT,Hex, M12 x 90, 8.8

5шт.

5

15540734

BOLT,Hex, M12 x 1.25 x 45mm, Cl 10.9

2шт.

6

47534479

COVER

1шт.

7

87629041

O-RING,0.139" Thk x 5.359" ID, -253, Cl 5, 75 Duro

1шт.

8

16043224

BOLT,Hex, M8 x 16mm, Cl 8.8

4шт.

9

86583483

PLUG,Hex, M42 x 2 ORB

ASSY, Hex, M42 x 2 ORB, Incl 10, 11

1шт.

10

NSS

NOT SOLD SEPARAT

Plug, Incl in 9

1шт.

11

86598105

O-RING,2.9mm Thk x 38.6mm ID, Cl 6, 90 Duro

1шт.

12

87687750

MAGNETIC PLUG,Hex, M33 X 2 X 16mm

1шт.

13

14438285

O-RING,29.5mm ID x 3.0mm

1шт.

14

10119011

PLUG,M27 x 2 x 20, Cl5.8

1шт.

15

5185747

PLUG,1"13/16-12

ASSY, Incl 16, 17

1шт.

16

NSS

NOT SOLD SEPARAT

Plug, Incl in 15

1шт.

17

81903721

O-RING,0.116" Thk x 1.048" ID, -914, Cl 6, 90 Duro

1шт.

18

84253191

VALVE PRESSURE RELIE

1шт.

19

47806408

BULKHEAD

1шт.

20

47806423

U-BOLT,2xM6x1, 40mm W, 6mm Thk

1шт.

21

10720124

NUT,Hex, M6 x 1

M6

2шт.

22

14499301

WASHER,M6 x 12.00mm OD x 1.60mm Overwrite

2шт.

Выбрано товаров: 22