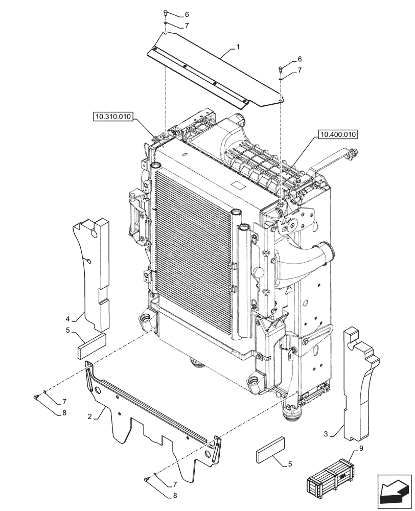
Запчасти Case IH OPTUM 300 CVT (10.400.050) - VAR - 758768, 758774, 758775, 758776, 759086, 759123 - RADIATOR, SEAL, W/O FRONT PTO (10) - ENGINE

Схема запчастей Case IH OPTUM 300 CVT - (10.400.050) - VAR - 758768, 758774, 758775, 758776, 759086, 759123 - RADIATOR, SEAL, W/O FRONT PTO (10) - ENGINE
10.310.010
5
7
6
2
7
1
8
9
7
4
6
7
8
3
5
10.400.010
FIT
1:1
100%

Артикул

Название

Примечание

Количество

1

47802820

BAFFLE

1шт.

2

47743586

BAFFLE

1шт.

3

47778115

SEAL,28mm ID x 40mm Thk x 456mm L

1шт.

4

47778120

SEAL,28/16mm ID x 40mm Thk x 456mm L

1шт.

5

47809522

SEAL,46mm W x 12mm Thk x 126mm L

2шт.

6

10902211

BOLT,Hex, M6 x 16mm, Cl 5.8, Full Thd

2шт.

7

12639701

WASHER,6.15mm ID x 11mm OD x 1mm Thk

4шт.

8

86977726

BOLT,Hex, M6 x 12mm, Cl 8.8

2шт.

Valid for T7.290, T7.315 Models Only

1шт.

To See Full DIA KIT Composition Look for all the Figures Where the DIA KIT P/N Is Shown

1шт.

Valid for OPTUM 270 CVX, OPTUM 300 CVX, OPTUM 270 CVT, OPTUM 300 CVT Models Only

1шт.

To See Full DIA KIT Composition Look for all the Figures Where the DIA KIT P/N Is Shown

1шт.

Valid for 6270 CVT, 6300 CVT Models Only

1шт.

To See Full DIA KIT Composition Look for all the Figures Where the DIA KIT P/N Is Shown

1шт.

Выбрано товаров: 14