Качественные детали и логистика
Оригинальные и аналоговые запчасти с доставкой по России, Казахстану и Беларуси
©2022 PartSell ООО "Система" ИНН 2463123282 ОГРН 1212400004838
Центральный офис: г. Красноярск, Академика Киренского, д.87, пом.4
Телефон: 8 (800) 777-65-74 Email: zakaz@partsell.ru
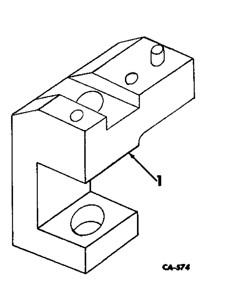
(14-11) - SUSPENSION, CYLINDER MOUNTING CLEVIS
№
Артикул
Название
Примечание
Количество
1
380027R21
CLEVIS COUPLING
CLEVIS ASSY, cylinder mounting
1шт.
215722
SPARE PART
1/2-13 x 5-3/4 hex-hd cap
2шт.
PO22079
PIN
3/4 x 3-3/8 std-hd
NLS
NO LONGER SERVICED
1/4 x 1-1/8 cot.
Выбрано товаров: 0