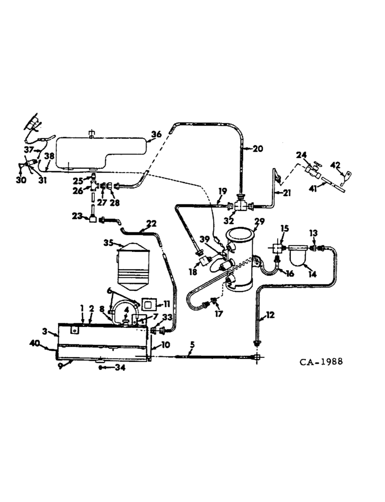
Запчасти Case IH 1066 (12-14) - POWER, UNDERSLUNG AUXILIARY FUEL TANK, 1066, 1466 AND HYDRO 100 TRACTORS Power

Схема запчастей Case IH 1066 - (12-14) - POWER, UNDERSLUNG AUXILIARY FUEL TANK, 1066, 1466 AND HYDRO 100 TRACTORS Power
15
20
18
36
7
37
35
32
24
6
10
40
12
41
3
1
25
8
17
14
30
26
5
16
9
39
19
28
31
13
38
21
22
29
33
34
23
11
42
2
27
FIT
1:1
100%

Артикул

Название

Примечание

Количество

1

405648R2

PLATFORM, LH fuel tank

1шт.

413-1224

BOLT,Hex, 3/4" - 10 x 1-1/2", Gr 5

SCREW, 3/4-10 x 1-1/2 hex-hd cap, tractors w/o cab

3шт.

21211R1

WASHER

25/32 x 1-1/2 x 7 ga, tractors w/cab

1шт.

2

405653R2

PLATFORM ASSY, RH fuel tank

1шт.

413-1224

BOLT,Hex, 3/4" - 10 x 1-1/2", Gr 5

SCREW, 3/4-10 x 1-1/2 hex-hd cap, tractors w/o cab

3шт.

21211R1

WASHER

25/32 x 1-1/2 x 7 ga, tractors w/cab

1шт.

3

405656R2

TANK ASSY, auxiliary fuel

1шт.

4

389943R91

CAP

non-vented

1шт.

5

405663R1

TUBE ASSEMBLY, fuel tank outlet

1шт.

6

383622R1

CLIP

fuel tank vent hose

2шт.

179875

BOLT,Hex, 1/2" - 13 x 1/2", Gr 5

SCREW, 1/2-13 x 1/2 hex-hd cap

2шт.

7

61181H

FITTING

fuel tank vent

1шт.

8

405671R1

HOSE ASSY.

HOSE, fuel tank vent

1шт.

9

405665R1

SHROUD ASSEMBLY, fuel tank

1шт.

10

405669R1

SHIELD, fuel tank front

1шт.

180118

BOLT,Hex, 3/8" - 16 x 5/8", Gr 5

SCREW, 3/8-16 x 5/8 znd hex-hd cap

5шт.

120394

WASHER,3/8", SAE

WASHER, 13/32 x 13/16 x .051 C-Z

5шт.

120377

NUT,3/8" - 16, Gr 5

2шт.

11

405670R2

COVER, upper RH platform suport, tractors w/o cab

1шт.

11

535945R1

COVER, upper RH platform support, tractors w/cab

1шт.

180014

SCREW,Hex, 1/4" - 20 x 3/8", Gr 5, Full Thd

1/4-20 x 3/8 znd hex-hd cap

4шт.

413-1036

BOLT,Hex, 5/8" - 11 x 2-1/4", Gr 5

SCREW, 5/8-11 x 2-1/4 hex-hd cap, through clutch housing and rear frame on tractors w/o cab

1шт.

103325

LOCK WASHER,5/8"

WASHER, LOCK, , Through clutch housing and rear frame on tractors w/o cab 5/8"

1шт.

12

405664R1

PIPE ASSY, Serial Range: tank-strainer

1шт.

13

894809R1

CONNECTOR, 1/8-27 x 5/8-18 inverted flared tube

1шт.

14

614421R91

FILTER

STRAINER, assy, fuel, composed of (1) bail assy 98375R91, (1) bowl, fuel 614696R1, (1) element 614693R91, (1) gasket 614694R1, (1) gasket 614695R1

1шт.

14

614421R91GV

BOWL

Value, Fuel Strainer

1шт.

15

277413R1

ELBOW, 1/8-27 x 5/8-18 inverted flared tube

1шт.

16

405672R1

PIPE ASSY, Serial Range: strainer-pump

1шт.

17

894809R1

CONNECTOR, 1/8-27 x 5/8-18 inverted flared tube

1шт.

18

225810

ELBOW UNION

ELBOW, 1/8-27 90 deg inverted flared tube hv series

1шт.

19

535946R1

PIPE ASSY, pump outlet lower, tractors w/o cab

1шт.

19

535947R1

PIPE ASSY, pump outlet lower, tractors w/cab

1шт.

20

535948R1

PIPE ASSY, pump outlet upper

1шт.

21

535954R1

PIPE ASSY, fuel tank drain upper

1шт.

22

535953R1

PIPE ASSY, fuel tank return

1шт.

23

535949R1

PIPE ASSY, fuel overflow

1шт.

24

385747R91

COCK

VALVE, fuel tank drain w/nut & sleeve

1шт.

25

NLS

NO LONGER SERVICED

NIPPLE, 3/8 NPT x 1 pipe, brass (120285)

1шт.

26

NLS

NO LONGER SERVICED

TEE, 3/8 pipe, brass (120281)

1шт.

27

119933

ADAPTER,3/8" NPT Male x 1/8" NPT Fem

REDUCER, 3/8 x 1/8 pipe bushing

1шт.

28

137405

CONNECTOR, ELEC

CONNECTOR, 1/4 NPT x 7/16-24 inverted flared tube adapter

1шт.

29

405898R92

PUMP

ASSY, electric fuel

1шт.

120375

NUT,Hex, 1/4" - 20, Gr 5

2шт.

413-412

BOLT,Hex, 1/4" - 20 x 3/4", Gr 5

2шт.

492-11025

LOCK WASHER,1/4"

WASHER, LOCK, 1/4"

2шт.

120392

WASHER,1/4", SAE

9/32 x 5/8 x .051 C-Z flat

1шт.

30

362818R91

SWITCH

fuel pump

1шт.

31

59109D

SPACER, fuel pump switch

1шт.

32

127927

TEE,7/16"-24, Inv Flare, Fem, Brass

7/16-24 inverted flared tube 2-way hv series

1шт.

33

442323

CONNECTOR, ELEC

CONNECTOR, 1-1/4-18 inverted flared tube hv series

1шт.

34

445673

PIPE PLUG,Sq Hd, 3/8"-18 NPTF

PLUG, 3/8-18 sq-hd pipe drain

1шт.

35

FILTER, primary fuel, refer to eng-5 parts catalog

1шт.

36

TANK ASSY, fuel, refer to fuel tank, supports and tubing listing, this group

1шт.

37

389911R91

CABLE ASSY, switch to junction block

1шт.

38

405687R1

CABLE ASSY, Serial Range: switch-pump

1шт.

39

384554R1

CLIP

switch to pump cable

2шт.

40

527702R1

SUPPORT, fuel tank shroud

1шт.

180122

BOLT,Hex, 3/8" - 16 x 1", Gr 5

3/8-16 x 1 znd hex-hd cap

1шт.

355258C1

SCREW, 1/2-13 x 10 znd hex-hd cap

6шт.

477589R1

WASHER

13/32 x 1-1/2 x 11 ga C-Z

1шт.

41

535985R1

PIPE, fuel tank drain lower

1шт.

42

370740R1

CLAMP

CLIP, fuel tank drain tube

1шт.

365584R1

CLIP

switch to pump cable

1шт.

444476

ELBOW UNION

ELBOW, 1/8 NPT 90 deg street brass, tractors w/cab

1шт.

999819R91

COUPLING

COUPLER, grease gun lub

1шт.

219317

HOUSING

NIPPLE, 1/8 x 7 in. pipe

1шт.

105412

ELBOW,90 Degree, 1/8" NPT

1/8 90 deg pipe

1шт.

109461

LUBE NIPPLE,1/8"-27 x .66 lg

NIPPLE, LUBE, , PTF 1/8"-27 x .66 lg

1шт.

Выбрано товаров: 69