Запчасти Case IH 1256 (A-07) - CHASSIS, RADIATOR AND SHEET METAL, HOOD AND RADIATOR GRILLE Chassis, Radiator & Sheet Metal

Схема запчастей Case IH 1256 - (A-07) - CHASSIS, RADIATOR AND SHEET METAL, HOOD AND RADIATOR GRILLE Chassis, Radiator & Sheet Metal
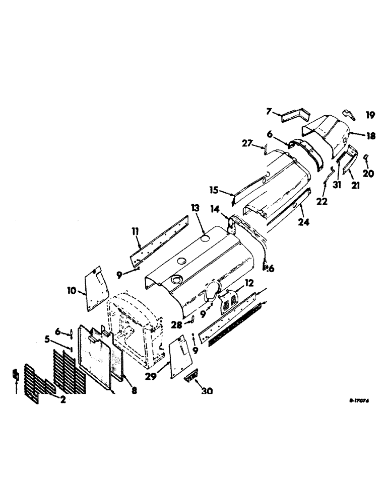
5
24
8
15
11
7
9
31
2
22
6
21
18
27
10
28
6
19
29
30
9
9
13
20
12
14
6
FIT
1:1
100%

Артикул

Название

Примечание

Количество

1

2751809R1

DECAL

PRODUCT GRAPHIC, IH emblem, optional with 2751847R1

1шт.

2

2751847R1

PRODUCT GRAPHIC

IH emblem, optional with 2751809R1

1шт.

385059R1

SCREW,Cross Flat Hd, #10 - 24 x 7/8"

10-24 x 7/8 cr-rec, fil hd

2шт.

2

398641R1

GRILLE ASSY, radiator, Farmall tractors

1шт.

159992

SCREW, 10-32 x 3/16 C-Z cr-rec pan-hd

2шт.

3

398645R1

GRILLE ASSY, radiator, International tractors

1шт.

159992

SCREW, 10-32 x 3/16 C-Z cr-rec pan-hd

2шт.

4

391935R11

BRACKET ASSY, grille latch

1шт.

179816

BOLT,Hex, 5/16" - 18 x 3/4", Gr 5

1шт.

5

398639R1

SPRING

grille latch pin

1шт.

19443R1

PIN,5/32" x 5/8", Coiled

2шт.

6

398638R1

PIN

grille latch

1шт.

20989R1

PIN,1/4" x 2 1/4", Coiled

1шт.

7

398644R1

GRILLE

SCREEN ASSY, radiator grille, Farmall tractors

1шт.

8

398647R1

SCREEN ASSY, radiator grille, International tractors

1шт.

9

376787R1

WASHER

RETAINER, screw

6шт.

10

397928R1

PANEL ASSY, RH radiator support

1шт.

10

395478R11

PANEL ASSY, radiator support RH, tractors w/air conditioned cab

1шт.

131-883

SPRING NUT,Rtnr, 5/16" - 18

5/16-18 floating cage

1шт.

11

399542R11

PANEL ASSY.

PANEL, RH front hood side, Farmall tractors

1шт.

389872R1

THUMB SCREW,Knurled Head, 5/16"-18 x 3/4"

SCREW, front hood side panel thumb

2шт.

432327

HOLE PLUG BUTTON,1"

PLUG, 1 inch button

2шт.

11

397885R1

PANEL, RH front hood side, International tractors

1шт.

389872R1

THUMB SCREW,Knurled Head, 5/16"-18 x 3/4"

SCREW, front hood side panel thumb

2шт.

12

397881R1

GRILLE

COVER, front hood access

1шт.

389872R1

THUMB SCREW,Knurled Head, 5/16"-18 x 3/4"

SCREW, front hood access cover thumb

2шт.

13

397897R91

HOOD ASSY, front

1шт.

389427R91

CAPTIVE WASHER SCREW,Hex, 5/16" - 18 x 3/4"

SCREW, hex-hd cap w/washer

8шт.

131-883

SPRING NUT,Rtnr, 5/16" - 18

5/16-18 floating cage

2шт.

369222R1

BOLT,Hex Wshr Hd, 5/16" - 18 x 5/8"

SCREW, hex, washer, hd cap

1шт.

14

395280R92

REINFORCEMENT

ASSY, rear hood front

1шт.

131-883

SPRING NUT,Rtnr, 5/16" - 18

5/16-18 floating cage

6шт.

179814

SPACER

4шт.

15

378639R1

PANEL, RH rear hood side, Farmall tractors w/side headlights

1шт.

15

378671R1

PANEL

RH rear hood side, all International tractors and Farmall tractors w/flat top deluxe fenders & adj headlights

1шт.

385157R1

SCREW,Bevel Wshr Hd, 5/16" - 18 x 5/8"

5/16-18 x 5/8 hex. washer hd bevel cap

2шт.

16

378640R11

REINFORCEMENT ASSY, rear hood rear

1шт.

131-883

SPRING NUT,Rtnr, 5/16" - 18

5/16-18 floating cage

2шт.

88574

BOLT,Hex, 5/16" - 18 x 1/2", Gr 5, Full Thd

SCREW, 5/16-18 x 1/2 hex-hd cap

4шт.

17

397887R1

HOUSING, steering support lower RH

1шт.

385157R1

SCREW,Bevel Wshr Hd, 5/16" - 18 x 5/8"

5/16-18 x 5/8 hex. washer hd bevel cap

1шт.

18

397889R1

HOUSING, steering & gear selector support

1шт.

18

385797R1

HOUSING, steering & gear selector support, all wheel drive tractors

1шт.

385157R1

SCREW,Bevel Wshr Hd, 5/16" - 18 x 5/8"

5/16-18 x 5/8 hex. washer hd bevel cap

8шт.

19

397888R1

BRACKET, support housing mounting

1шт.

NLS

NO LONGER SERVICED

2шт.

20

187758

PLUG,2 1/2"

torque amplifier opening button

1шт.

21

397886R1

HOUSING, steering support lower LH

1шт.

385157R1

SCREW,Bevel Wshr Hd, 5/16" - 18 x 5/8"

5/16-18 x 5/8 hex. washer hd cap

1шт.

22

397890R1

HANDLE

operators mounting assist LH

1шт.

21534R1

BOLT,Hex, 5/16" - 18 x 1"

SCREW, 5/16-18 x 1 CDP hex-hd cap

1шт.

21535R1

SCREW, 5/16-18 x 1-1/4 CDP hex-hd cap

1шт.

23

381412R1

HOOD

rear

1шт.

385157R1

SCREW,Bevel Wshr Hd, 5/16" - 18 x 5/8"

5/16-18 x 5/8 hex. washer hd bevel cap

2шт.

2753934

PRODUCT GRAPHIC, diesel symbol, on rear hood around fuel tank cap opening

1шт.

24

378638R1

PANEL, LH rear hood side, Farmall tractors w/side headlights

1шт.

24

378670R1

PANEL, LH rear hood side, all International tractors and Farmall tractors w/flat top deluxe fenders & adj headlights

1шт.

385157R1

SCREW,Bevel Wshr Hd, 5/16" - 18 x 5/8"

5/16-18 x 5/8 hex. washer hd bevel cap

2шт.

25

399541R11

PANEL, LH front hood side, Farmall tractors

1шт.

389872R1

THUMB SCREW,Knurled Head, 5/16"-18 x 3/4"

SCREW, front hood side panel thumb

2шт.

25

397884R1

PANEL ASSY.

PANEL, LH front hood side, International tractors

1шт.

389872R1

THUMB SCREW,Knurled Head, 5/16"-18 x 3/4"

SCREW, front hood side panel thumb

2шт.

26

2753920R1

PRODUCT GRAPHIC

international name plate

2шт.

370786R1

FASTENER

tubular clip

14шт.

27

399306R1

HANDLE

operators mounting assist RH Farmall tractors

1шт.

21534R1

BOLT,Hex, 5/16" - 18 x 1"

SCREW, 5/16-18 x 1 CDP hex-hd cap

1шт.

21535R1

SCREW, 5/16-18 x 1-1/4 CDP hex-hd cap

1шт.

28

369173R1

SPRING

hood panel

5шт.

110633

NUT,#10-24

5шт.

29

397927R1

PANEL ASSY, LH radiator support, Farmall tractors

1шт.

29

391729R21

PANEL ASSY, LH radiator support, International tractors

1шт.

131-883

SPRING NUT,Rtnr, 5/16" - 18

5/16-18 floating cage

1шт.

385157R1

SCREW,Bevel Wshr Hd, 5/16" - 18 x 5/8"

5/16-18 x 5/8 hex. washer hd bevel cap

3шт.

370786R1

FASTENER

tubular clip

4шт.

30

2753968R1

PRODUCT GRAPHIC, 1256 Farmall model symbol plate

2шт.

30

2753914R1

PRODUCT GRAPHIC, 1256 model symbol plate

2шт.

370786R1

FASTENER

tubular clip

4шт.

30

2753915R1

PRODUCT GRAPHIC, 21256 diesel model symbol

2шт.

31

2752210R1

PRODUCT GRAPHIC, all wheel drive emblem

2шт.

370786R1

FASTENER

tubular clip

4шт.

Выбрано товаров: 0