Запчасти Case IH 1456 (12-07) - POWER, ETHER STARTING, SOLENOID OPERATED Power

Схема запчастей Case IH 1456 - (12-07) - POWER, ETHER STARTING, SOLENOID OPERATED Power
11
13
12
7
5
3
2
6
8
4
9
10
1
FIT
1:1
100%

Артикул

Название

Примечание

Количество

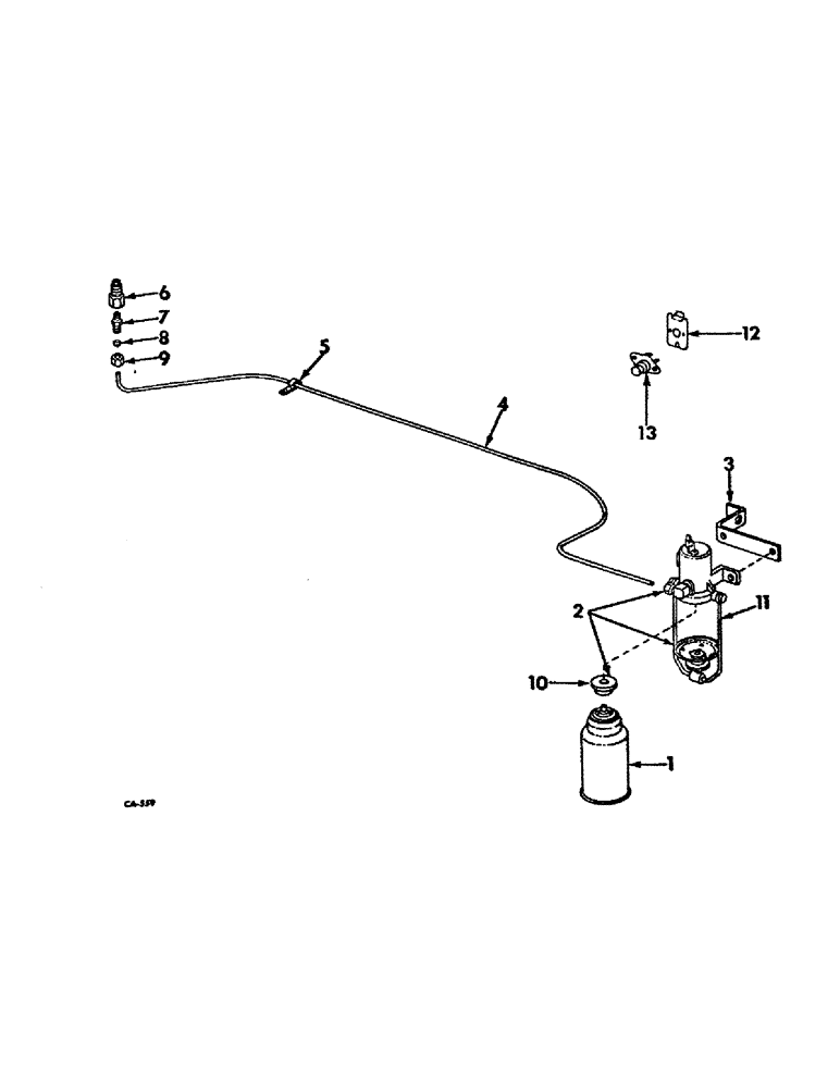
1

385064R91

FLUID

ether starting, 12 oz can

1шт.

2

393719R92

NOZZLE

SOLENOID ASSY, ether starting

1шт.

19803R1

BOLT,Hex, 1/4" - 20 x 7/8", Gr 2

1/4-20 x 7/8 C-Z

2шт.

492-11025

LOCK WASHER,1/4"

WASHER, LOCK, 1/4"

2шт.

120375

NUT,Hex, 1/4" - 20, Gr 5

2шт.

3

395072R1

SUPPORT

BRACKET, solenoid mounting

1шт.

179879

BOLT,Hex, 1/2" - 13 x 3/4", Gr 5

1шт.

103323

LOCK WASHER,1/2"

WASHER, LOCK, 1/2"

1шт.

4

395078R1

TUBE, starting fluid

1шт.

5

(Not used in this application)

1шт.

6

269635R91

NOZZLE CAP

NOZZLE ASSY, ether starting fluid

1шт.

7

NLS

NO LONGER SERVICED

CONNECTOR, tube

1шт.

8

121322

SLEEVE,Ball Type, 1/8" tube

tube connector

1шт.

9

121220

TUBE NUT

NUT, tube connector

1шт.

10

395686R1

GASKET

ether starting injector

1шт.

11

404247R1

BAIL

ASSY, injector

1шт.

12

395073R1

PANEL

PUSH BUTTON SWITCH ETHER STARTING

1шт.

181561

BOLT,Hex, 1/4" - 28 x 1/2", Gr 5

SCREW, 1/4-28 x 1/2 C-Z hex-hd cap

1шт.

13

397940R92

IGNITION SWITCH

SWITCH ASSY, ether solenoid push button

1шт.

436750

SCREW,Slotted Pan Hd, #10-32 x 1/2"

10-32 x 1/2 C-Z slt-pan-hd mach

2шт.

120217

LOCK WASHER,#10

WASHER, LOCK, #10

2шт.

120611

NUT,#10 - 32

10-32 C-Z sq

2шт.

Выбрано товаров: 22