Запчасти Case IH 1456 (14-10) - SUSPENSION, ADJUSTABLE WIDE TREAD FRONT AXLE AND CONNECTIONS, INTERNATIONAL TRACTORS Suspension

Схема запчастей Case IH 1456 - (14-10) - SUSPENSION, ADJUSTABLE WIDE TREAD FRONT AXLE AND CONNECTIONS, INTERNATIONAL TRACTORS Suspension
11
9
14
5
7
12
5
8
13
4
15
18
3
6
9
17
6
16
10
11
5
16
3
7
2
5
10
4
1
FIT
1:1
100%

Артикул

Название

Примечание

Количество

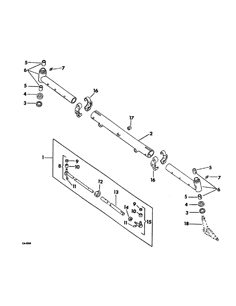
1

384432R91

ROD ASSY, tie

2шт.

2

380004R21

AXLE ASSY, front

1шт.

3

374387R1

WASHER

steering knuckle pivot felt

2шт.

4

369131R91

THRUST BEARING

ASSY, steering knuckle pivot thrust

2шт.

5

358958R2

BUSHING,42.57mm ID x 46.08mm OD x 51.05mm L

steering knuckle pivot pin

4шт.

6

383995R12

EXTENSION

ASSY, front axle

2шт.

7

80722

LUBE NIPPLE,3/16" x .55" lg, Drive

FITTING, 3/16 drive type str lub

2шт.

8

384434R91

END

ROD ASSY, tie, LH

1шт.

9

359983R1

NUT

tie rod end, optional with 374548R1

2шт.

9

374548R1

SLOTTED NUT

tie rod end, optional with 359983R1

2шт.

10

387280R1

SEAL

COVER, dust

2шт.

11

109461

LUBE NIPPLE,1/8"-27 x .66 lg

NIPPLE, LUBE, , PTF 1/8"-27 x .66 lg

2шт.

12

359986R1

CLAMP

tie rod

1шт.

25-118

NUT,1/2"-20, G5

1/2-20 hex.

1шт.

181435

BOLT,Hex, 1/2" - 20 x 2", Gr 5

SCREW, 1/2-20 x 2 hex-hd cap

1шт.

13

384433R1

TUBE,0.957" ID, 1.187" OD, 17.125" Length

tie rod

1шт.

14

374062R1

JAM NUT

NUT, jam

1шт.

15

384006R91

END

ASSY, tie rod, RH thread

1шт.

16

383994R1

CLAMP, front axle

4шт.

102639

NUT,5/8"-11, G5

4шт.

425-1012

NUT,3/4"-10, G5

3/4-10 hex.

2шт.

631191R1

BOLT,Hex, 5/8" - 11 x 5", Gr 8

SCREW, 5/8-11 x 5 hex-hd cap

4шт.

20843R1

BOLT,3/4" x 6 3/4", Gr 8

SCREW, 3/4-10 x 6-3/4 hex-hd cap

2шт.

17

379943R1

BUSHING,38.11mm ID x 41.41mm OD x 38.1mm L

front axle pivot pin

2шт.

18

KNUCKLE, steering, refer to front axle and connections listing, this section

1шт.

193-12

LOCK WASHER,Ext Tooth, 0.52" ID x 0.89" OD, STL, PLN

WASHER, LOCK, Ext Tooth, 1/2"

1шт.

Выбрано товаров: 26