Запчасти Case IH 1466 (09-04) - FRAME, STOREAWAY SWINGING DRAWBAR, 1066, 1466 AND 1468 WITH THREE POINT HITCH (12) - FRAME

Схема запчастей Case IH 1466 - (09-04) - FRAME, STOREAWAY SWINGING DRAWBAR, 1066, 1466 AND 1468 WITH THREE POINT HITCH (12) - FRAME
3
7
1
2
6
4
5
FIT
1:1
100%

Артикул

Название

Примечание

Количество

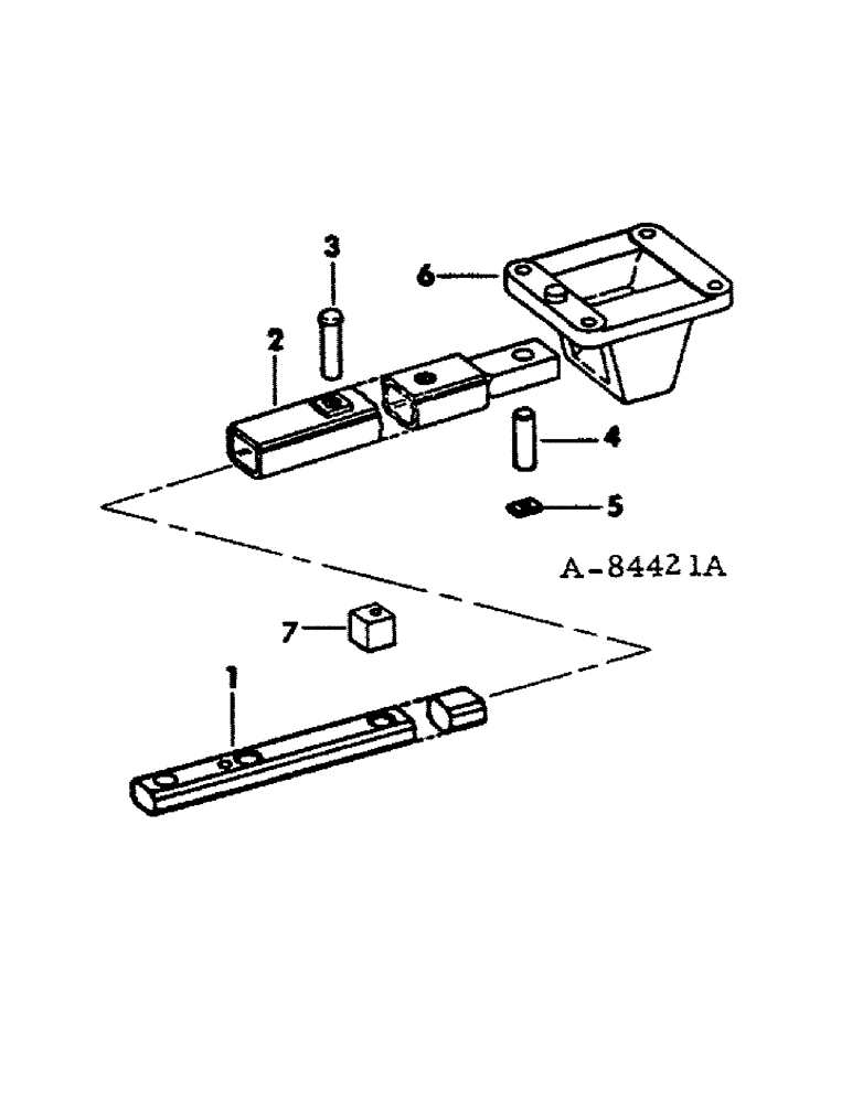
1

535799R1

DRAWBAR

rear section, 1066 tractors, for use with hammer strap 535800R1

1шт.

1

397066R2

BAR

DRAWBAR, rear section, 1466 and 1468 tractors, for use with hammer strap 535801R1, when drawbar 397066R2 is supplied for service replacement of drawbar 397066R1, on tractors equipped with number strap att, hammer strap 535801R1 must also be ordered, Serial Range: -24402

1шт.

DRAWBAR, rear section, 1466 and 1468 tractors, for use with hammer strap 535801R1, when drawbar 397066R2 is supplied for service replacement of drawbar 397066R1, on tractors equipped with number strap att, hammer strap 535801R1 must also be ordered, Serial Range: -10083

1шт.

2

391988R91

DRAWBAR ASSY, front section

1шт.

3

389428R1

AXLE PIN,25.4mm OD x 95.25mm L

PIN, 1 x 3-3/4 headed, operating position

1шт.

520175R1

CLIP

PIN, quick attachable cot

1шт.

397067R1

PIN

drawbar, storage position

1шт.

4

57654D

PIVOT PIN

PIN, drawbar pivot

1шт.

5

49139D

WASHER,10.32mm ID x 38.1mm OD x 5mm Thk

PLATE, drawbar pivot pin lock

1шт.

179837

BOLT,Hex, 3/8" - 16 x 3/4", Gr 5

1шт.

103321

LOCK WASHER,3/8"

WASHER, LOCK, 3/8"

1шт.

6

391890R11

SUPPORT

ASSY, swinging drawbar pivot

1шт.

20324R1

DOWEL,1" x 2"

PIN, 1 x 2 dowel

1шт.

271562

SHIELD,Hex, 5/8" - 11 x 2", Gr 5

SCREW, 5/8-11 x 2 hex-hd cap

4шт.

7

65300C1

BLOCK

drawbar stop

2шт.

271612

BOLT,Hex, 3/4" - 10 x 2 1/4", Gr 5

SCREW, 3/4-10 x 2-1/4 hex-hd cap

2шт.

Выбрано товаров: 16