Запчасти Case IH 1468 (13-55) - SUPERSTRUCTURE, HEATER AND CONNECTIONS, CUSTOM CAB, 1468 TRACTORS (05) - SUPERSTRUCTURE

Схема запчастей Case IH 1468 - (13-55) - SUPERSTRUCTURE, HEATER AND CONNECTIONS, CUSTOM CAB, 1468 TRACTORS (05) - SUPERSTRUCTURE
15
5
18
7
17
12
5
6
2
10
16
8
22
21
5
11
5
4
6
5
13
5
5
1
9
5
19
21
7
3
7
5
5
5
20
5
14
11
7
FIT
1:1
100%

Артикул

Название

Примечание

Количество

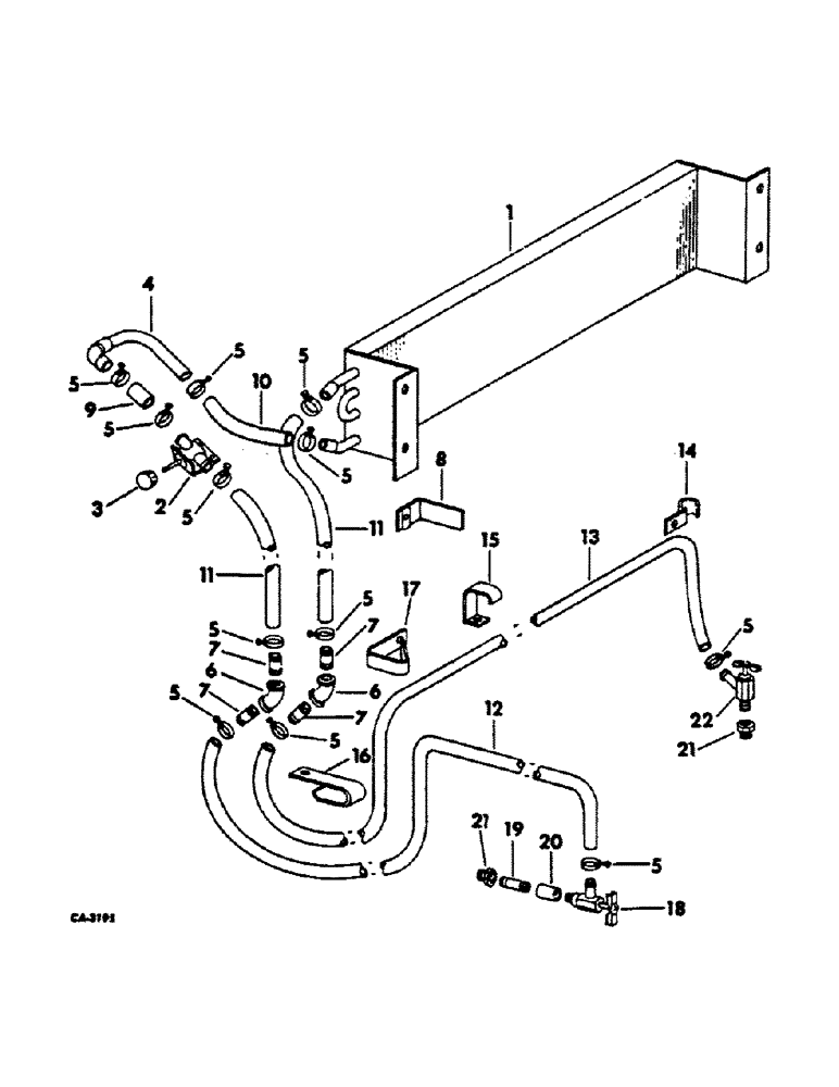
1

539021R1

CORE ASSY, heater

1шт.

88542

BOLT,Hex, 1/4"-20 x 1/2", Gr 5

SCREW, 1/4-20 x 1/2 znd hex-hd cap

4шт.

120375

NUT,Hex, 1/4" - 20, Gr 5

4шт.

2

539020R1

VALVE

heater control

1шт.

160536

SCREW,Cross Pan Hd, 1/4" - 20 x 5/8"

2шт.

120375

NUT,Hex, 1/4" - 20, Gr 5

2шт.

3

539024R1

KNOB

1шт.

4

539042R1

TUBE ASSY, inlet

1шт.

5

39093H

HOSE CLAMP

CLAMP, hose

12шт.

6

144136

ELBOW, 3/8 45 deg znp pipe

2шт.

7

574631R1

FITTING

NIPPLE, 3/8 x 2 pipe

4шт.

8

539038R1

RETAINER, hose

2шт.

9

HOSE, heater, use 2 in. of 5/8 ID heater hose from a 50 ft roll marked, 117724C1

1шт.

10

HOSE, heater, use 8 in. of 5/8 ID heater hose from a 50 ft roll marked, 117724C1

1шт.

11

HOSE, heater, use 72 in. of 5/8 ID heater hose from a 50 ft roll marked, 117724C1

2шт.

12

HOSE, heater inlet, use 80 in. of 5/8 ID heater hose from a 50 ft roll marked, 117724C1

1шт.

13

HOSE, heater outlet, use 92 in. of 5/8 ID heater hose from a 50 ft roll marked, 117724C1

1шт.

14

539747R1

CLIP, single heater hose, front LH side engine 45 deg twist

1шт.

15

391180R1

CLIP

heater hose return, rear LH side of engine

1шт.

180116

BOLT,Hex, 3/8" - 16 x 1/2", Gr 5

SCREW, 3/8-16 x 1/2 znd hex-hd cap

1шт.

16

391179R3

CLIP, double heater hose, RH side under battery tray

1шт.

120377

NUT,3/8" - 16, Gr 5

1шт.

17

537064R1

CLIP, 90 deg double heater hose, RH upper rear on the fire wall

1шт.

18

301803R91

VALVE

ASSY, heater inlet shutoff

1шт.

19

121207

PIPE,Nipple, 3/8" NPT x 1"

NIPPLE, 3/8 close pipe

1шт.

20

120755

COUPLING,3/8" NPT

3/8 pipe

1шт.

21

221-89

REDUCER,Hex, 1/2" x 3/8" NPT

BUSHING, 1/2 x 3/8 reducing pipe

2шт.

22

941980R91

LOCK VALVE

VALVE ASSY, heater outlet shut-off

1шт.

Выбрано товаров: 28