Запчасти Case IH 1470 (027A) - FUEL INJECTORS, (504BDT) DIESEL ENGINE, FIRST USED ENGINE SERIAL NUMBER 2504221 (03) - FUEL SYSTEM

Схема запчастей Case IH 1470 - (027A) - FUEL INJECTORS, (504BDT) DIESEL ENGINE, FIRST USED ENGINE SERIAL NUMBER 2504221 (03) - FUEL SYSTEM
12
20
3
2
7
19
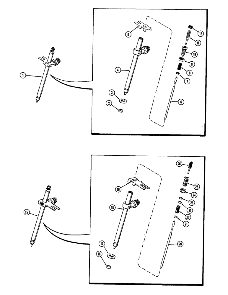
15
25
23
10
1
22
26
21
5
9
17
6
18
4
16
24
11
8
21
FIT
1:1
100%

Артикул

Название

Примечание

Количество

1

A62809

NOZZLE CAP

NOZZLE ASSY. - fuel injection, Includes: Ref. 2 - 12

6шт.

Whenever nozzle is removed from head the seal ref. 2 or 16 and washer ref. 3 or 17 must be replaced before nozzle is installed back in head

1шт.

A138322R

REMAN-INJECT NOZZLE

1470 FIRST USED ENGINE SERIAL NUMBER 2504221 (1/70-12/72) REMAN FOR NEW P/N A62809

6шт.

A138322C

CORE-NOZZLE, INJECT

Return Number

1шт.

2

A41402

SEAL,7.89mm ID x 9.74mm OD x 2.87mm Thk

- carbon stop

1шт.

3

A41403

WASHER,9.55mm ID x 14.18mm OD x 3.38mm Thk

- nylon

1шт.

4

NSS

NOT SOLD SEPARAT

BODY - nozzle (Order A62809) (Part No. 19745 stamped on body) (Color coded red)

1шт.

5

A41768

PLATE

- locating, nozzle

1шт.

6

NSS

NOT SOLD SEPARAT

VALVE - nozzle, (Order A62809)

1шт.

7

A44369

SEAT

- pressure spring (Replaces A41401)

1шт.

8

A43601

SPRING

- nozzle pressure adjusting

1шт.

9

A42424

LOCK NUT

- lock, pressure adj. screw

1шт.

10

A43600

ADJUSTMENT SCREW,#10 - 56 x 0.68"

SCREW - pressure adjusting

1шт.

11

A43599

ADJUSTMENT SCREW,#10 - 56 x 1.39"

SCREW - lift adjusting

1шт.

12

A43602

NUT

- lock, lift screw

1шт.

15

A58694

NOZZLE

ASSY. - fuel injection, used prior to eng s/n 2504221, Includes: Ref. 16 - 26

6шт.

Whenever nozzle is removed from head the seal ref. 2 or 16 and washer ref. 3 or 17 must be replaced before nozzle is installed back in head

1шт.

A138322R

REMAN-INJECT NOZZLE

1470 DIESEL FIRST USED ENGINE SERIAL NUMBER 2504221 (1/70-12/72) REMAN FOR NEW P/N A58694

6шт.

A138322C

CORE-NOZZLE, INJECT

Return Number

1шт.

16

A41402

SEAL,7.89mm ID x 9.74mm OD x 2.87mm Thk

- carbon stop, used prior to eng s/n 2504221

1шт.

17

A41403

WASHER,9.55mm ID x 14.18mm OD x 3.38mm Thk

- plain, used prior to eng s/n 2504221

1шт.

18

NSS

NOT SOLD SEPARAT

BODY - nozzle (Order A58694) (Part no. I18084 stamped on body) (No color code), used prior to eng s/n 2504221

1шт.

19

A41768

PLATE

- locating, nozzle, used prior to eng s/n 2504221

1шт.

20

NSS

NOT SOLD SEPARAT

VALVE - nozzle (Order A58694), used prior to eng s/n 2504221

1шт.

21

A44369

SEAT

- pressure spring (Replaces A41401), used prior to eng s/n 2504221

2шт.

22

A41444

VALVE SPRING

SPRING - pressure adjusting, used prior to eng s/n 2504221

1шт.

23

A41407

WASHER

- ball type, used prior to eng s/n 2504221

1шт.

24

A42424

LOCK NUT

- lock, used prior to eng s/n 2504221

1шт.

25

A41409

ADJUSTMENT SCREW,5/16" - 48

SCREW - pressure adjusting, used prior to eng s/n 2504221

1шт.

26

A41408

ADJUSTMENT SCREW,#10 - 56 x 1.40"

SCREW - lift adjusting, used prior to eng s/n 2504221

1шт.

Выбрано товаров: 0