Запчасти Case IH 1470 (131A) - T38940 FRONT STEERING CYLINDER (05) - STEERING

Схема запчастей Case IH 1470 - (131A) - T38940 FRONT STEERING CYLINDER (05) - STEERING
10
18
19
14
7
3
17
8
15
6
5
4
20
5
16
13
1
12
2
9
11
FIT
1:1
100%

Артикул

Название

Примечание

Количество

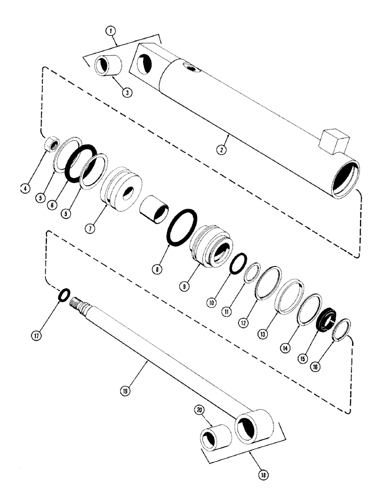
T38940

CYLINDER

ASSY. - front steering (Order A44900) (See Figure 130), Includes: Ref. 1 - 20

2шт.

1

T39043

TUBE ASSEMBLY, Includes: Ref. 2 and 3 2 - 2.5" OD x 13.25, 2.88" L

1шт.

2

NSS

NOT SOLD SEPARAT

TUBE - cylinder

1шт.

3

T39040

BUSHING

- cylinder tube

1шт.

4

25-159

JAM NUT,Jam, 9/16"-18, G5

- jam, 9/16"-18

1шт.

5

A17365

WASHER

- backup

2шт.

Part of Cylinder Repair Seal Kit P/N T39050.

1шт.

6

T13235

O-RING,0.21" Thk x 1.6" ID, -326, Cl 6, 90 Duro

"O" RING - piston

1шт.

Part of Cylinder Repair Seal Kit P/N T39050.

1шт.

7

T24084

PISTON

- cylinder

1шт.

8

A7156

O-RING,0.139" Thk x 1.734" ID, -224, Cl 6, 90 Duro

SEAL - static, cylinder head

1шт.

Part of Cylinder Repair Seal Kit P/N T39050.

1шт.

9

T39051

HEAD

- cylinder

1шт.

10

A7623

O-RING,0.139" Thk x 0.984" ID, -214, Cl 5, 75 Duro

"O" RING - cylinder rod

1шт.

Part of Cylinder Repair Seal Kit P/N T39050.

1шт.

11

T13068

WASHER

- backup

1шт.

Part of Cylinder Repair Seal Kit P/N T39050.

1шт.

12

T24082

RING, LOCKING

LOCK RING - cylinder head

1шт.

Part of Cylinder Repair Seal Kit P/N T39050.

1шт.

13

T24081

SPACER

1шт.

14

T24080

SNAP RING,#175, Ext Spiral

LOCK RING

1шт.

15

T39047

WIPER - cylinder rod

1шт.

Part of Cylinder Repair Seal Kit P/N T39050.

1шт.

16

T39046

RING, LOCKING

LOCK RING

1шт.

17

A30097

O-RING,0.549" ID x 0.755" OD x 0.103"

SEAL - static, cylinder rod

1шт.

Part of Cylinder Repair Seal Kit P/N T39050.

1шт.

18

T39048

ROD

ASSEMBLY - cylinder, Includes: Ref. 19 and 20

1шт.

19

NSS

NOT SOLD SEPARAT

ROD - cylinder

1шт.

20

T39040

BUSHING

- cylinder rod

1шт.

T39050

SEAL KIT

KIT - cylinder repair, Includes: Ref. 5, 6, 8, 10 - 12, 15 and 17

1шт.

Выбрано товаров: 30