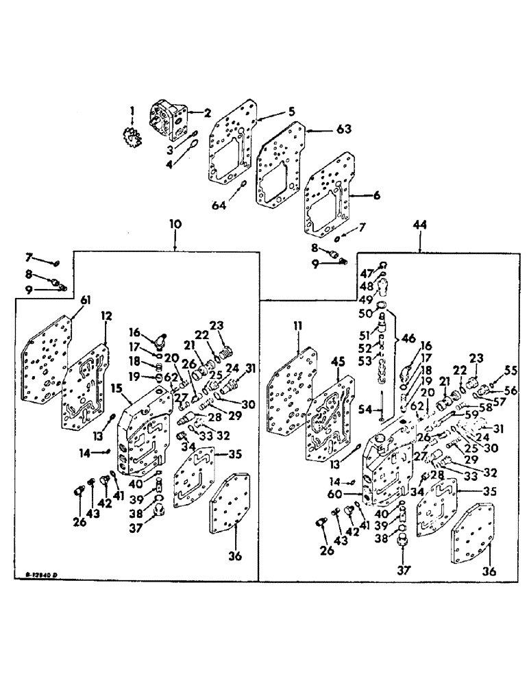
Запчасти Case IH 1566 (10-03) - HYDRAULICS, POWER SUPPLY AND MULTIPLE CONTROL VALVE, ON CLUTCH HOUSING, GEAR DRIVE MODELS (07) - HYDRAULICS

Схема запчастей Case IH 1566 - (10-03) - HYDRAULICS, POWER SUPPLY AND MULTIPLE CONTROL VALVE, ON CLUTCH HOUSING, GEAR DRIVE MODELS (07) - HYDRAULICS
4
26
14
37
62
11
8
30
9
55
47
6
38
14
18
3
48
32
36
25
40
31
10
33
35
9
21
2
32
24
56
39
44
18
28
42
33
38
43
27
63
26
5
50
37
28
19
22
61
62
29
53
52
7
27
41
35
49
13
1
30
15
40
12
43
25
39
36
58
24
54
17
46
13
59
22
31
51
20
21
57
16
23
7
23
14
20
26
26
34
17
29
42
64
8
45
34
41
19
16
FIT
1:1
100%

Артикул

Название

Примечание

Количество

1

405181R1

GEAR

hydraulic pump drive

1шт.

19258R1

LOCK NUT,1/2"-20, GB

NUT, 1/2-20 znp nylon insert

1шт.

2

527397R92

HYDRAULIC PUMP

PUMP ASSY, hydraulic, 9 GPM, Cessna, Optional w/64801C91

1шт.

2

1949304C1

REMAN-HYD PUMP

Reman for New PN 527397R92

1шт.

2

1949305C1

CORE-HYDRAULIC PUMP

Return Number

1шт.

2

64801C91

PUMP

ASSY, hydraulic, 9 GPM, Thompson, Optional w/527397R92, For components see list of parts under details of hydraulic pump

1шт.

2

1949304C1

REMAN-HYD PUMP

Reman for New PN 64801C91

1шт.

2

1949305C1

CORE-HYDRAULIC PUMP

Return Number

1шт.

23761R1

SCREW,Hex, 5/16"-18 x 2 5/8", G5

5/16-18 x 2-5/8 hex-hd cap

4шт.

382331R1

SEALING WASHER,8.33mm ID x 12.7mm OD x 0.79mm Thk

pump bolt sealing

4шт.

3

21433R1

O-RING,0.103" Thk x 0.674" ID, -115, Cl 6, 90 Duro

11/16 x 7/8 x 3/32, pump pressure port

1шт.

4

372821R1

O-RING,0.103" Thk x 1.049" ID, -121, Cl 5, 75 Duro

1-1/16 x 1-1/4 x 3/32, pump suction port

1шт.

5

382336R2

GASKET

multiple control valve spacer plate

1шт.

6

382336R2

GASKET

multiple control valve plate, heavy

1шт.

6

382335R2

GASKET

multiple control valve plate, light

1шт.

7

21433R1

O-RING,0.103" Thk x 0.674" ID, -115, Cl 6, 90 Duro

11/16 x 7/8 x 3/32, power steering pressure port

1шт.

8

354057R2

VALVE

power steering return check

1шт.

9

533362R92

VALVE

SPRING, power steering return check valve, see SB 3199

1шт.

10

VALVE ASSY, multiple control, 2000 psi

1шт.

24643R1

BOLT,5/16" x 1 1/2", Gr 8

SCREW, 5/16-18 x 1-1/2 hex-hd cap type 8

1шт.

24645R1

BOLT,5/16" x 1 7/8", Gr 8

SCREW, 5/16-18 x 1-7/8 hex-hd cap type 8

1шт.

26524R1

BOLT,5/16" x 2 3/8", Gr 8

SCREW, 5/16-18 x 2-3/8 hex-hd cap type 8

8шт.

26525R1

BOLT,Hex, 5/16" - 18 x 2 5/8", Gr 8

SCREW, 5/16-18 x 2-5/8 hex-hd cap type 8

10шт.

103320

LOCK WASHER,5/16"

WASHER, LOCK, 5/16"

4шт.

11

382324R1

PLATE ASSY.

PLATE, multiple control valve, inner

1шт.

12

382322R2

GASKET

multiple control valve, inner

1шт.

13

369908R1

O-RING,0.103" Thk x 0.799" ID, -117, Cl 5, 75 Duro

13/16 x 1 x 3/32, pump pressure port

1шт.

14

252739R1

O-RING,0.103" Thk x 0.487" ID, -112, Cl 5, 75 Duro

1/2 x 11/16 x 3/32, power steering input port

1шт.

15

382294R21

BODY ASSY, multiple control valve

1шт.

16

113935C1

ELBOW

9/16-18 37 deg hyd flared tube 45 deg, brake pressure port

1шт.

17

364839R1

O-RING,0.078" Thk x 0.468" ID, -906, Cl 6, 90 Duro

6-1, 90 Duro, .468" ID x .078" Thk, brake pressure port elbow

1шт.

18

113938C1

SPRING

pressure reducing, Replaces 59571C1 by also ordering elbow, 113935C1, For use w/multiple control valve 59750C92

1шт.

18

113937C1

SPRING

brake check valve, Replaces 530988R1 by also ordering elbow, 113935C1, For use w/multiple control valve 533362R92

1шт.

19

382304R1

CHECK VALVE

VALVE, brake check

1шт.

20

382306R1

SPRING

pressure regulator valve outer

1шт.

21

382307R11

VALVE

ASSY, pressure regulator

1шт.

22

570828R1

O-RING,0.087" Thk x 0.644" ID, -908, Cl 6, 90 Duro

.644 x .818 x .087, pressure regulator valve plug

1шт.

23

536855R1

PLUG

3/4-16 C-Z str thd o-ring boss, pressure regulator valve

1шт.

24

384403R1

PLUG

lub regulator by-pass valve

1шт.

25

570828R1

O-RING,0.087" Thk x 0.644" ID, -908, Cl 6, 90 Duro

.644 x .818 x .087, lub regulator by-pass valve plug

1шт.

26

382301R1

LOCK VALVE

VALVE, by-pass

2шт.

103697

PIN,1/8" x 1 3/8"

1/8 x 1-3/8 chamfered str, by-pass valve retaining

2шт.

27

382312R1

SPRING

lubrication regulator

1шт.

28

VALVE, flow control, not serviced separately order body assy

1шт.

29

379211R1

SPRING

flow control valve

1шт.

30

364885R1

O-RING,0.097" Thk x 0.755" ID, -910, Cl 6, 90 Duro

3/4 x 15/16 x 3/32, flow control valve plug

1шт.

31

382297R1

PLUG

flow control valve

1шт.

32

9410357

PLUG

1/2-20 C-Z str thd o-ring boss, flow control orifice port

1шт.

34

382298R1

JET

ORIFICE, flow control

1шт.

35

382326R1

GASKET

multiple control valve, outer cover

1шт.

36

382325R1

COVER ASSY

COVER, multiple control valve, outer

1шт.

179814

SPACER

3шт.

37

536855R1

PLUG

3/4-16 C-Z str thd o-ring boss, safety valve

1шт.

38

570828R1

O-RING,0.087" Thk x 0.644" ID, -908, Cl 6, 90 Duro

.644 x .818 x .087, safety valve

1шт.

39

384443R92

VALVE

ASSY, safety, 2000 PSI

1шт.

40

702788R1

O-RING,0.103" Thk x 0.362" ID, -110, Cl 6, 90 Duro

3/8 x 9/16 x 3/32, safety valve

1шт.

41

379366R1

O-RING,0.07" Thk x 0.301" ID, -11, Cl 6, 90 Duro

5/16 x 7/16, 1/16, power steering in put port plug

1шт.

42

9410355

PLUG,Hex Hd, 3/8"-24 ORB

3/16 OD str thd o-ring boss, power steering input port

1шт.

43

382299R1

SPRING

cooler by-pass valve

1шт.

44

59750C92

VALVE

ASSY, multiple control, 2000 psi, tractors w/torque amplifier

1шт.

24643R1

BOLT,5/16" x 1 1/2", Gr 8

SCREW, 5/16-18 x 1-1/2 hex-hd cap type 8

1шт.

24645R1

BOLT,5/16" x 1 7/8", Gr 8

SCREW, 5/16-18 x 1-7/8 hex-hd cap type 8

1шт.

26524R1

BOLT,5/16" x 2 3/8", Gr 8

SCREW, 5/16-18 x 2-3/8 hex-hd cap type 8

8шт.

26525R1

BOLT,Hex, 5/16" - 18 x 2 5/8", Gr 8

SCREW, 5/16-18 x 2-5/8 hex-hd cap type 8

10шт.

103320

LOCK WASHER,5/16"

WASHER, LOCK, 5/16"

4шт.

45

382323R1

GASKET

multiple control valve, inner

1шт.

46

59753C92

VALVE

ASSY, drive selector

1шт.

47

382627R1

SNAP RING,#59, Ext

Ring, Snap, , drive selector valve #59, Ext

1шт.

48

350429R1

O-RING,0.103" Thk x 0.612" ID, -114, Cl 5, 75 Duro

5/8 x 13/16 x 3/32, drive selector valve stem

1шт.

49

382321R2

SCREW,1 3/16" - 18 x 1.60"

drive selector valve retaining

2шт.

50

372821R1

O-RING,0.103" Thk x 1.049" ID, -121, Cl 5, 75 Duro

11/16 x 1-1/4 x 3/32, valve retaining screw

1шт.

51

382319R1

BODY

STEM, drive selector valve

1шт.

20347R1

PIN,5/64" x 3/4", Coiled

1шт.

52

59754C1

SPRING

drive selector valve guide outer

1шт.

53

59755C1

SPRING

drive selector valve guide inner

1шт.

54

382315R2

GUIDE

drive selector valve

1шт.

55

529883R91

OIL SEAL

clutch dump valve plug oil

1шт.

56

387934R2

PLUG

clutch dump valve

1шт.

57

570828R1

O-RING,0.087" Thk x 0.644" ID, -908, Cl 6, 90 Duro

1/2 OD tube, clutch dump valve plug

1шт.

58

382310R1

SPRING

clutch dump valve

1шт.

59

391947R92

STRIPPER PACKAGE

PACKAGE, clutch dump valve service, For use w/multiple control valve 59750C92, Consists of valve 391942R2, bolt 391946R1 & diagram

1шт.

60

382295R11

BODY

ASSY, multiple control valve

1шт.

61

382324R1

PLATE ASSY.

PLATE, multiple control valve, inner

1шт.

62

390819R1

VALVE SPRING

SPRING, pressure regulator valve inner, For use w/multiple control valve 533362R91

1шт.

62

59752C1

SPRING

pressure regulator valve inner, For use w/multiple control valve 59570C91

1шт.

63

67419C1

PLATE ASSY.

PLATE, multiple control valve spacer

1шт.

64

21433R1

O-RING,0.103" Thk x 0.674" ID, -115, Cl 6, 90 Duro

11/16 x 7/8 x 3/32

1шт.

33

369384R1

O-RING,0.072" Thk x 0.414" ID, -905, Cl 6, 90 Duro

5-1, 90 Duro, .414" ID x .072" Thk, Flow control orifice port plug

1шт.

Выбрано товаров: 88