Запчасти Case IH 1586 (08-24) - ELECTRICAL, AM/FM CASSETTE RADIOS (06) - ELECTRICAL

Схема запчастей Case IH 1586 - (08-24) - ELECTRICAL, AM/FM CASSETTE RADIOS (06) - ELECTRICAL
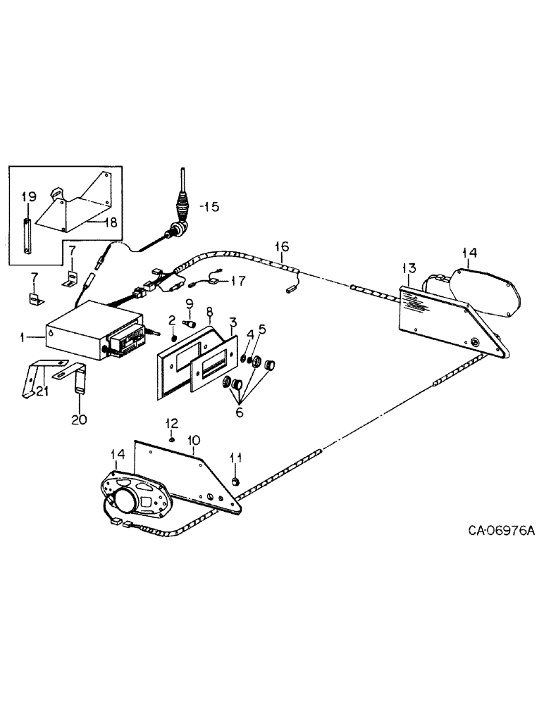
16
8
18
15
20
5
11
21
7
4
10
6
3
17
9
12
7
14
13
19
1
2
14
FIT
1:1
100%

Артикул

Название

Примечание

Количество

1

111648C1

RADIO

push button AM/FM w/8 track tape player, For deluxe burgundy trim cab

1шт.

1

146533C4

RADIO

AM/FM w/cassette tape player, For western interior cab

1шт.

146540C1

KNOB

radio volume & tuning

1шт.

146542C1

KNOB

tone & balance

2шт.

146543C1

SPACER

radio

1шт.

2

142919C1

NUT

large shaft, use w/radio 111648C1

2шт.

3

117992C1

PLATE

trim

1шт.

4

142920C1

WASHER

shaft

2шт.

5

142921C1

NUT

small shaft

2шт.

6

117993C1

PACKAGE

KIT, radio control knobs

1шт.

7

143124C1

ANGLE

radio mounting, Use w/radio 111648C1

2шт.

598795R1

CARRIAGE BOLT,Sht Sq Nk, 1/4" - 20 x 3/4", Gr 5

BOLT, 1/4 x 3/4 crg type 5

2шт.

174916

LOCK WASHER,Ext-Int Tooth, 1/4"

WASHER, 1/4 ext-int tooth lock

2шт.

492-11025

LOCK WASHER,1/4"

WASHER, LOCK, 1/4"

4шт.

143059C1

NUT

1/4-20 tamper resistant

4шт.

8

118376C1

PANEL

radio trim

1шт.

1276052C1

SELF-TAP SCREW,Cross Oval Hd, #8 x 1 3/4"

SCREW, no. 8-18 x 1-3/4 polyseal o/hdcr tap

5шт.

9

117995C1

PACKAGE

KIT, trim panel fastener, Consists of 5 fasteners

3шт.

10

111402C2

PANEL

speaker trim LH

1шт.

1276052C1

SELF-TAP SCREW,Cross Oval Hd, #8 x 1 3/4"

SCREW, no. 8-18 x 1-3/4 polyseal o/hdcr tap

5шт.

11

117730C1

PLUG

plastic

1шт.

12

142940C1

PLUG

plastic, 5/8 hole

1шт.

13

111403C1

PANEL

speaker trim RH

1шт.

1276052C1

SELF-TAP SCREW,Cross Oval Hd, #8 x 1 3/4"

SCREW, no. 8-18 x 1-3/4 polyseal o/hdcr tap

5шт.

14

142956C1

SPEAKER

4 x 8 4 OHM

2шт.

15

111237C1

ANTENNA

ASSY, complete

1шт.

169850C1

CLIP

1шт.

16

143177C1

HARNESS

ASSY, radio & speaker

1шт.

445635

FUSE,3 Amp, Type 1AG

AGA 3 amp 5/8 long

1шт.

17

146544C1

CABLE

ASSY, domelight to radio, Use w/radio 146533C4

1шт.

18

BRACKET, mounting, Order supports, 1252402C1 and 1252403C1

1шт.

19

BAR, radio rear mtg compound nut, Order supports, 1252402C1 and 1252403C1

1шт.

20

1252402C1

SUPPORT

radio, Use w/radio 146533C4

1шт.

21

1252403C1

SUPPORT

radio mtg, Use w/radio 146533C4

1шт.

598795R1

CARRIAGE BOLT,Sht Sq Nk, 1/4" - 20 x 3/4", Gr 5

BOLT, 1/4 x 3/4 crg type 5

3шт.

174916

LOCK WASHER,Ext-Int Tooth, 1/4"

WASHER, 1/4 ext-int tooth lock

3шт.

492-11025

LOCK WASHER,1/4"

WASHER, LOCK, 1/4"

3шт.

143059C1

NUT

1/4-20 tamper resistant

3шт.

21741R1

WASHER

.406 x .875 x .105

1шт.

146559C91

PACKAGE

PARTS ACCESSORY, AM/FM push button cassette tape player, Consists of ref. nos. 1, 2, 3, 4, 5, 6, 8, 9, 10, 11, 12, 13, 14, 15, 16 plus

1шт.

117818C1

ANGLE

2шт.

18653R1

BOLT,Hex, 1/4" - 20 x 1/2", Gr 2

1/4 x 1/2 type 1

2шт.

120375

NUT,Hex, 1/4" - 20, Gr 5

4шт.

492-11025

LOCK WASHER,1/4"

WASHER, LOCK, 1/4"

4шт.

Выбрано товаров: 44