Запчасти Case IH 1586 (10-21[A]) - HYDRAULIC, RESERVOIR AND FILTER (07) - HYDRAULICS

Схема запчастей Case IH 1586 - (10-21[A]) - HYDRAULIC, RESERVOIR AND FILTER (07) - HYDRAULICS
15
19
20
10
2
13
3
6
1
7
5
8
4
9
11
16
17
14
18
12
FIT
1:1
100%

Артикул

Название

Примечание

Количество

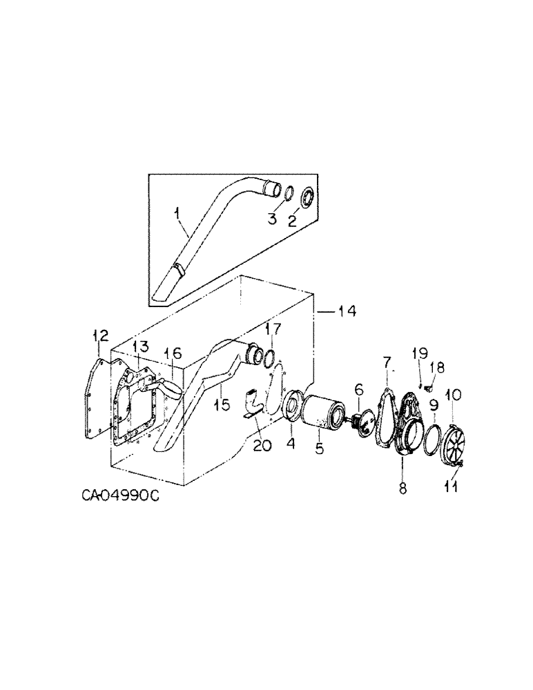
1

382240R21

HYD TUBE,13.7" Length

TUBE ASSY, hyd filter suction, 1586, Serial Range: -20999

1шт.

179839

BOLT,Hex, 3/8" - 16 x 1", Gr 5

1шт.

2

382242R1

RETAINER

filter suction tube, 1586, Serial Range: -20999

1шт.

3

360610R1

O-RING,1.609" ID x 0.139" Width

1-5/8 x 1-7/8 x 1/8, 1586, hyd filter suction tube, Serial Range: -20999

1шт.

4

1261043C1

CYLINDER END CAP

CAP, hyd filter cartridge, Replaces 382246R91 by also ordering tube, 1261039C2 on PPH tractors

1шт.

5

528493R3

HYDRAULIC OIL FILTER

CARTRIDGE, hyd filter, For service replacement, Also order o-ring 285253R1

1шт.

6

386121R92

VALVE

ASSY, hyd filter relief, 1586, Serial Range: -20999

1шт.

6

133735C1

VALVE

ASSY, hyd filter, 1586, Start Serial: 21000

1шт.

7

382257R2

GASKET

oil filter cover

1шт.

8

406038R1

FUNNEL

FRAME ASSY, filter, 1586, Serial Range: -20999

1шт.

8

138170C1

FRAME

ASSY, filter, 1586, Start Serial: 21000

1шт.

NLS

NO LONGER SERVICED

8шт.

9

285253R1

O-RING,0.139" Thk x 5.484" ID, -254, Cl 5, 75 Duro

5-1/2 x 5-3/4 x 1/8 filter frame

1шт.

10

406037R1

COVER ASSY

COVER, filter frame

1шт.

11

406040R1

SCREW,5/16" - 18 x 1.25"

filter cover

2шт.

12

382243R1

COVER ASSY

COVER, pump opening

1шт.

179838

BOLT,Hex, 3/8" - 16 x 7/8", Gr 5, Full Thd

3/8-16 x 7/8 hex-hd cap

12шт.

13

382244R4

GASKET

pump opening cover

1шт.

14

FRAME ASSY, rear, Refer to rear frame, covers and connections listing group 7

1шт.

15

133685C2

MANIFOLD

hyd filter suction, 1586, Start Serial: 21000

1шт.

16

133686C1

SUPPORT

manifold suction tube, 1586, Start Serial: 21000

1шт.

17

293726R1

O-RING,0.139" Thk x 2.234" ID, -228, Cl 5, 75 Duro

2-1/4 x 1/8, 1586, hyd filter suction manifold, Start Serial: 21000

1шт.

18

9410358

PLUG

9/16-18 hyd str thd o-ring, 1586, Start Serial: 21000

1шт.

19

364839R1

O-RING,0.078" Thk x 0.468" ID, -906, Cl 6, 90 Duro

6-1, 90 Duro, .468" ID x .078" Thk, 15/32 OD tube, 1586, Start Serial: 21000

1шт.

20

1261039C2

TUBE,3.5" Length

ASSY, suction

1шт.

Выбрано товаров: 25