Запчасти Case IH 1586 (06-06) - COOLING, RADIATOR AUXILIARY SCREEN Cooling

Схема запчастей Case IH 1586 - (06-06) - COOLING, RADIATOR AUXILIARY SCREEN Cooling
1
3
1
3
3
2
1
1
3
FIT
1:1
100%

Артикул

Название

Примечание

Количество

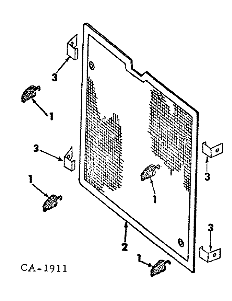
534635R91

STRIPPER PACKAGE

PARTS ACCESSORY, radiator auxiliary screen

1шт.

1

392525R1

FASTENER

coil spring

4шт.

2

SCREEN, radiator auxiliary, Not available separately, Order parts accessory, 534635R91

1шт.

3

534634R1

CLIP

screen fastener

4шт.

436765

SCREW, 12-24 x 3/8 C-Z slt-pan-hd mach

4шт.

121744

ANGLE

Washer, Lock, #12

4шт.

225-14112

NUT,#12-24

12-24 znd hex mach screw

4шт.

Выбрано товаров: 7