Запчасти Case IH 1586 (11-01) - INSTRUMENTS, INSTRUMENT PANEL AND GAUGES Instruments

Схема запчастей Case IH 1586 - (11-01) - INSTRUMENTS, INSTRUMENT PANEL AND GAUGES Instruments
24
17
20
18
8
5
3
4
2
12
14
24
6
10
16
11
15
23
7
13
9
25
21
1
25
22
19
FIT
1:1
100%

Артикул

Название

Примечание

Количество

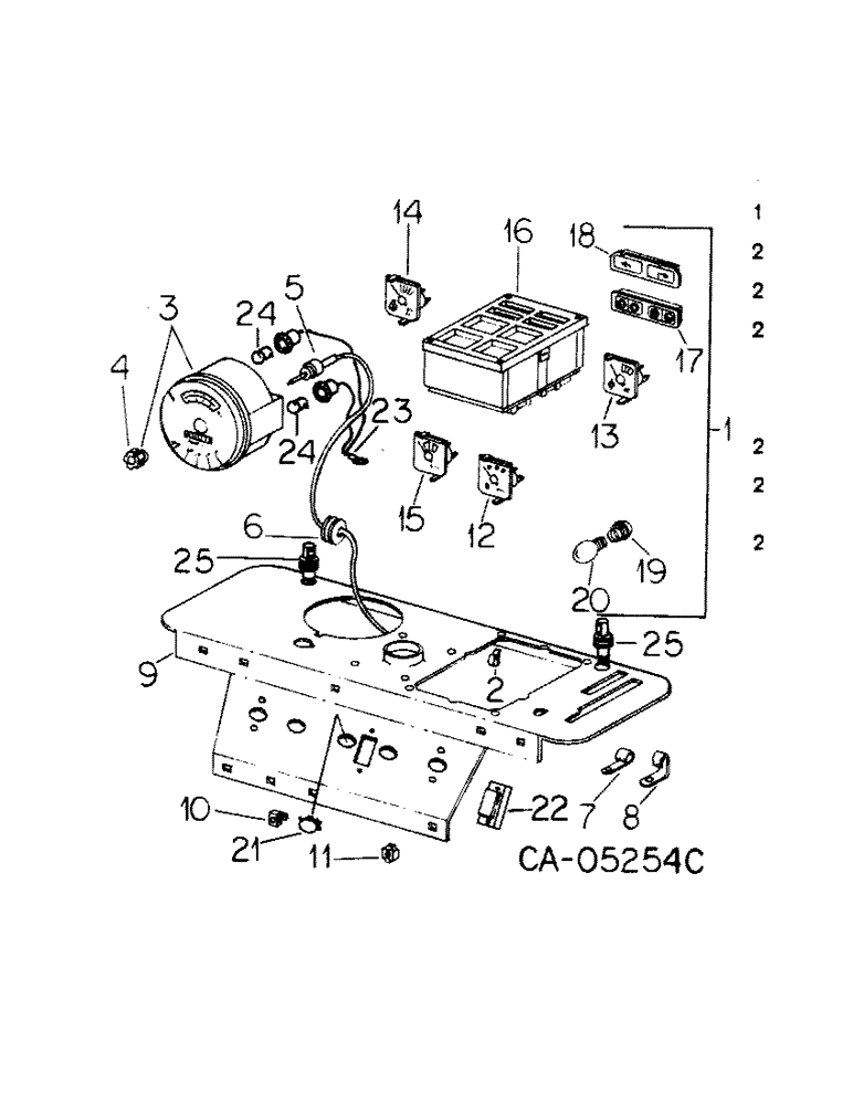
1

107336C92

CLUSTER

ASSY, instrument

1шт.

2

103957C1

NUT

J-shape spring

4шт.

27076R1

SCREW,Cross Oval Hd, #10 x 1"

10-16 x 1 oval hd cr phc type AB

4шт.

3

107427C2

GAUGE

ASSY, speedometer/tachometer, w/English dial

1шт.

3

71777C1

SPEEDOMETER

GAUGE ASSY, speedometer/tachometer, w/Metric dial

1шт.

4

71242C1

KNOB

tachometer

1шт.

5

401830R92

CABLE

ASSY, tachometer flexible drive

1шт.

6

123548H

GROMMET

tach cable

1шт.

7

399657R1

CLIP

tachometer cable

1шт.

8

NOT USED IN THIS APPLICATION

1шт.

9

103999C3

PANEL

ASSY, instrument

1шт.

9

104662C2

PANEL

ASSY, instrument, tractor w/torque amplifier

1шт.

10

104035C1

FASTENER

upper inst. hsg spacer, nut

1шт.

11

104036C1

NUT

instrument hsg mtg.

10шт.

160682

SCREW,Cross Pan Hd, 5/16" x 1/2"

5/16 x 1/2 phc p/hd cr mach

4шт.

12

121604C1

ELECTRICAL GAUGE

GAUGE, fuel

1шт.

13

121605C2

ELECTRICAL GAUGE

GAUGE, temperature

1шт.

14

121606C1

ELECTRICAL GAUGE

GAUGE, oil pressure

1шт.

15

121607C1

METER

VOLTMETER

1шт.

16

121608C1

GASKET

BEZEL AND GASKET ASSY

1шт.

17

121609C1

LENS

warning light

1шт.

18

121610C1

LENS

turn signal

1шт.

19

121611C1

SOCKET

ASSY, instrument cluster

8шт.

20

20627R1

BULB,C2F, #194, 14V

lamp no. 194

8шт.

21

432281

HOLE PLUG BUTTON,29/32"

PLUG, button

1шт.

22

141879C1

PLUG

aux lighting switch, tractors w/o rear fender aux lighting

1шт.

27571R1

SELF-TAP SCREW,Cross Pan Hd, #6 x 1/2"

SCREW, no. 6-20 x 1/2 phc p/hdcr tap

2шт.

23

104822C1

SOCKET

ASSY, tachometer inst. light

1шт.

24

9417863

BULB,C2F, #1895, 14V

no. 1895 12-volt light, instrument lighting

2шт.

25

107370C91

HOUSING

ASSY, instrument panel light, Consists of

2шт.

200557H1

BULB,C2V, #1815, 14V

LAMP

1шт.

130894C1

LENS

1шт.

Выбрано товаров: 32