Запчасти Case IH 1586 (05-01) - STEERING, TILT-TELESCOPING STEERING (04) - STEERING

Схема запчастей Case IH 1586 - (05-01) - STEERING, TILT-TELESCOPING STEERING (04) - STEERING
3
12
9
13
14
5
6
15
10
15
11
4
2
8
1
7
FIT
1:1
100%

Артикул

Название

Примечание

Количество

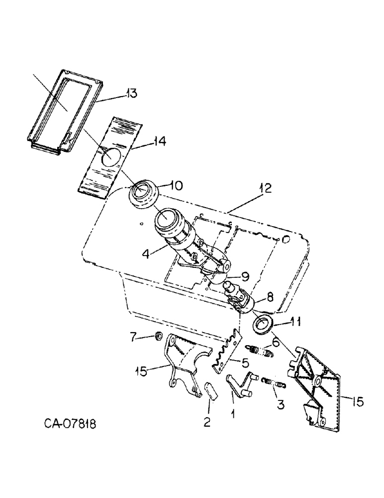
1

148904C1

LEVER

ASSY, tilt steering lock

1шт.

2

1259793C1

GRIP

tilt steering lock, knob

1шт.

3

538321R1

SPRING

lever detent

1шт.

4

148422C3

HOUSING

tilt steering support

1шт.

5

148915C1

PLATE

tilt steering detent

1шт.

931618R1

BOLT,Hex, M8 x 1.25 x 16mm, Cl 8.8, Full Thd

2шт.

6

148480C1

SPRING

tilt wheel support

1шт.

7

148920C1

BUSHING

tilt wheel support

2шт.

931492R1

BOLT,Hex, M12 x 1.75 x 50mm, Cl 8.8

M12 x 50 pln class 8.8

2шт.

933966R1

LOCK WASHER,M12

WASHER, 12MM lock

2шт.

8

148431C1

JOINT

ASSY, steering universal

1шт.

617944R1

PIN,3/8" x 1 3/4", Coiled

2шт.

9

148424C1

BUSHING

steering tube inner

2шт.

10

148921C1

CAP

steering column

1шт.

11

148481C1

SEAL,40mm ID x 58mm OD x 8mm Thk

hand pump shaft

1шт.

12

PANEL ASSY, instrument, See Figures 11-01, 11-01(A], 11-02, and 11-03

1шт.

13

148409C1

SUPPORT

TRACK, tilt wheel support

1шт.

14

148411C2

COVER

tilt wheel

1шт.

103957C1

NUT

speed type J

3шт.

26304R1

SELF-TAP SCREW,Cross Pan Hd, #10 x 3/4"

SCREW, no. 10-16 x 3/4 phc p/hdcr tap

3шт.

931562R1

BOLT,Hex, M8 x 1.25 x 16mm, Cl 8.8, Full Thd

M8 x 16 phc class 8.8

2шт.

15

148426C91

SUPPORT

ASSY, tilt steering

1шт.

43127

BOLT,Hex, M8 x 1.25 x 25mm, Cl 8.8

2шт.

30910R1

NUT,M8, Cl 10

M8 class 10

2шт.

931618R1

BOLT,Hex, M8 x 1.25 x 16mm, Cl 8.8, Full Thd

1шт.

934309R1

LOCK WASHER,M8

1шт.

1270708C91

TILT-TELESCOPING STEERING PARTS ACCESSORY, tractors with round speedometer tachometer without torque amplifier, Consists of ref. nos. 1 through 15, attaching hardware and

1шт.

1252906C2

PANEL

ASSY, instrument

1шт.

148482C1

HOUSING

lower instrument

1шт.

30523R1

BOLT,Hex, M10 x 1.5 x 16mm, Cl 8.8, Full Thd

M10 x 16Mm class 8.8

2шт.

9706704

BOLT,Hex, M10 x 1.5 x 41.58mm, Cl 8.8

M10 x 35 class 8.8

3шт.

PRODUCT GRAPHIC, lower instrument panel (NSS)

1шт.

PRODUCT GRAPHIC, upper instrument panel, LH and RH (NSS)

2шт.

1252740C1

STOP

governor PTO over speed

1шт.

107330C1

CABLE

ASSY, auxiliary light switch ext

1шт.

1270709C91

KIT

TILT-TELESCOPING STEERING PARTS ACCESSORY, tractors with square digital data gage without torque amplifier, Consists of ref. nos. 1 through 15, attaching hardware and

1шт.

148433C2

PANEL

ASSY, instrument

1шт.

148482C1

HOUSING

lower instrument

1шт.

30523R1

BOLT,Hex, M10 x 1.5 x 16mm, Cl 8.8, Full Thd

M10 x 16MM class 8.8

2шт.

9706704

BOLT,Hex, M10 x 1.5 x 41.58mm, Cl 8.8

M10 x 35 class 8.8

3шт.

PRODUCT GRAPHIC, lower instrument panel (NSS)

1шт.

PRODUCT GRAPHIC, upper instrument panel, LH and RH (NSS)

2шт.

1252740C1

STOP

governor PTO over speed

1шт.

107330C1

CABLE

ASSY, auxiliary light switch ext

1шт.

1280700C91

KIT

TILT-TELESCOPING STEERING PARTS ACCESSORY, tractors with round speedometer tachometer with torque amplifier, Note, Consists of ref. nos. 1 through 15, attaching hardware and

1шт.

1270792C1

PANEL

ASSY, instrument

1шт.

148482C1

HOUSING

lower instrument

1шт.

30523R1

BOLT,Hex, M10 x 1.5 x 16mm, Cl 8.8, Full Thd

M10 x 16MM class 8.8

2шт.

9706704

BOLT,Hex, M10 x 1.5 x 41.58mm, Cl 8.8

M10 x 35 class 8.8

3шт.

PRODUCT GRAPHIC, lower instrument panel (NSS)

1шт.

PRODUCT GRAPHIC, upper instrument panel, LH and RH (NSS)

2шт.

1252740C1

STOP

governor PTO over speed

1шт.

107330C1

CABLE

ASSY, auxiliary light switch ext

1шт.

1280701C91

KIT

TILT-TELESCOPING STEERING PARTS ACCESSORY, tractors with square digital data gage with torque amplifier, Note, Consists of ref. nos. 1 through 15, attaching hardware and

1шт.

1270790C1

PANEL

ASSY, instrument

1шт.

148482C1

HOUSING

lower instrument

1шт.

30523R1

BOLT,Hex, M10 x 1.5 x 16mm, Cl 8.8, Full Thd

M10 x 16MM class 8.8

2шт.

9706704

BOLT,Hex, M10 x 1.5 x 41.58mm, Cl 8.8

M10 x 35 class 8.8

3шт.

PRODUCT GRAPHIC, lower instrument panel (NSS)

1шт.

PRODUCT GRAPHIC, upper instrument panel, LH and RH (NSS)

2шт.

1252740C1

STOP

governor PTO over speed

1шт.

107330C1

CABLE

ASSY, auxiliary light switch ext

1шт.

Выбрано товаров: 62