Запчасти Case IH 1896 (6-178) - POWER SHIFT TRANSMISSION, INTERMEDIATE SHAFT (06) - POWER TRAIN

Схема запчастей Case IH 1896 - (6-178) - POWER SHIFT TRANSMISSION, INTERMEDIATE SHAFT (06) - POWER TRAIN
14
8
6
11
10
5
1
4
9
12
19
10
16
3
FIT
1:1
100%

Артикул

Название

Примечание

Количество

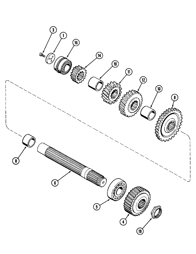
1

A150007

PLATE

- retaining

1шт.

3

165-120

HEX SOC SCREW,Prev Torque, 3/8" - 16 x 7/8"

SCREW - hex socket head nylock, 3/8 x 7/8 inch

3шт.

4

A179010

GEAR

- drop, driven (33 teeth)

1шт.

5

R32301

BALL BEARING

BEARING - ball

1шт.

6

A168027

SHAFT

- intermediate

1шт.

8

A151823

BUSHING

SPACER - fourth gear and centering bearing

1шт.

9

A168039

GEAR

- driver, fourth

1шт.

10

A151822

SPACER

- gear

2шт.

11

A168042

GEAR

- driver, second (20 teeth)

1шт.

12

A168041

GEAR

- driver, third (30 teeth)

1шт.

14

A168040

GEAR

- driver, first (17 teeth)

1шт.

16

A159435

BEARING ASSY,49.99mm ID x 90mm OD x 62mm W

BEARING - tapered roller, double row

1шт.

19

A168038

NUT

- adjusting

1шт.

Выбрано товаров: 0