Запчасти Case IH 1896 (8-322) - DRAFT CONTROL SENSING LINKAGE (08) - HYDRAULICS

Схема запчастей Case IH 1896 - (8-322) - DRAFT CONTROL SENSING LINKAGE (08) - HYDRAULICS
7
4
12
5
13
6
3
8
11
2
1
10
FIT
1:1
100%

Артикул

Название

Примечание

Количество

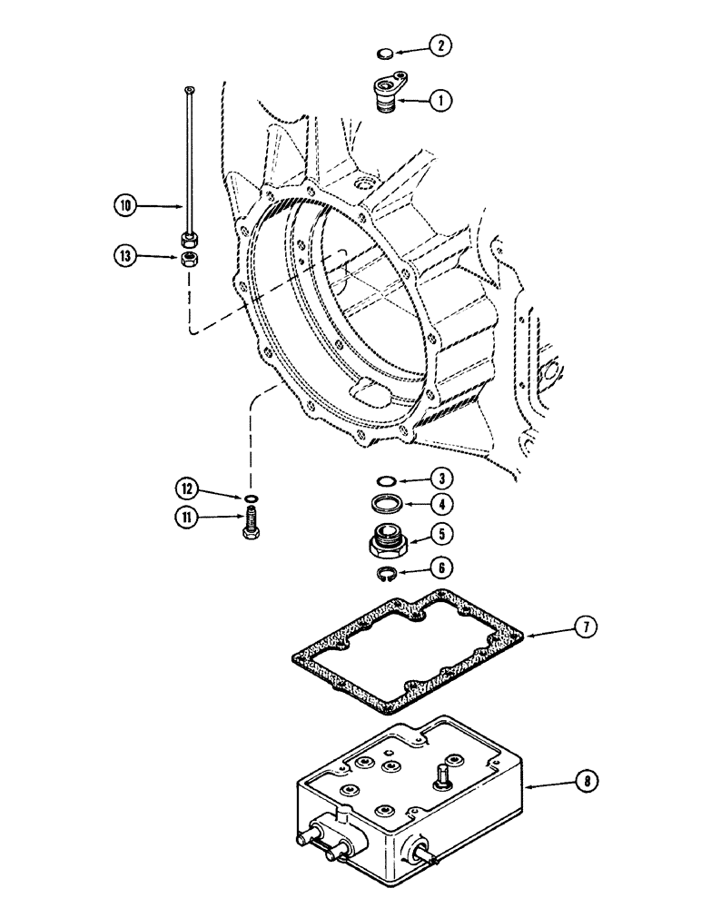
1

A162080

LEVER

- follow-up, draft sensing

1шт.

2

41-12

PLUG,Exp, 3/4"

- expansion type, 3/4 inch

1шт.

3

A30843

O-RING,0.103" Thk x 0.799" ID, -117, Cl 5, 75 Duro

- plug

1шт.

4

A63447

GASKET

- bushing

1шт.

5

A64429

BUSHING

- follow-up lever (In transmission case)

1шт.

6

B18208

SNAP RING,#100, Ext

lever #100, Ext

1шт.

7

A137621

GASKET

- housing, linkage

1шт.

8

REF

INSTRUCTION

HOUSING ASSEMBLY - linkage, draft control (See Figure: 8-324)

1шт.

10

A141014

TUBE

- breather

1шт.

11

A141002

FITTING

- tube, transmission case

1шт.

13

218-1276

LOCK NUT,Blkhd, 1/2"-20

NUT - hex, 1/2 inch NF special

1шт.

12

218-5004

O-RING,0.072" Thk x 0.414" ID, -905, Cl 6, 90 Duro

5-1, 90 Duro, .414" ID x .072" Thk (10 x 14 x 2 mm)

1шт.

Выбрано товаров: 12