Запчасти Case IH 1896 (2-10) - ETHER STARTING SYSTEM, 6T-590 DIESEL ENGINE (02) - ENGINE

Схема запчастей Case IH 1896 - (2-10) - ETHER STARTING SYSTEM, 6T-590 DIESEL ENGINE (02) - ENGINE
16
25
20
8
7
4
6
2
11
12
10
14
24
1
17
21
3
5
15
FIT
1:1
100%

Артикул

Название

Примечание

Количество

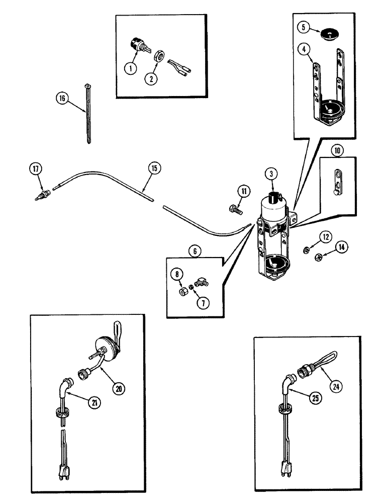
1

A135520

SWITCH

- cold start

1шт.

2

129-127

NUT,5/8"-18, G5

1шт.

3

A143381

SOLENOID

ASSEMBLY - ether start, Includes: Ref. 4 - 8

1шт.

4

A45687

CLAMP

HANGER - ether can (Order D77648)

1шт.

5

R30786

GASKET

- ether can

1шт.

6

222-615

ELBOW,90 Degree, 5/16"-24 x 1/8" NPT, Comp

Assy, Incl. Ref 7 & 8 90º, 5/16"-24 x 1/8" NPT, Comp

1шт.

7

222-650

SLEEVE,1/8" Tube, Comp

(3 mm) 1/8" Tube, Comp

1шт.

8

222-660

FLANGE NUT,5/16"-24, 45 Degree Fl, Comp

1/8" tube 5/16"-24, 45º Fl, Comp

1шт.

10

R30812

LINK

- hanger extension

2шт.

11

113-103

BOLT,Hex, 5/16" - 18 x 1", Gr 5

2шт.

12

192-20

LOCK WASHER,Helical Spring, 0.318" ID, CST, ZND

WASHER, LOCK, 5/16"

2шт.

14

9635082

NUT,5/16" - 18, Gr 5

2шт.

15

A149932

TUBE

HARNESS ASSEMBLY - solenoid

1шт.

16

L18337

CABLE TIE,9.95"-12.1" lg

STRAP - tie, 15 inch, nylon

3шт.

17

A172900

NOZZLE CAP

NOZZLE ASSEMBLY - atomizer (Replaces A172352) (Includes nut and sleeve)

1шт.

A77489

KIT

HEATER KIT - engine coolant, cylinder block, Includes: Ref. 20 and 21

1шт.

20

NSS

NOT SOLD SEPARAT

ELEMENT - heater (Order A77489) (Reference no. J903645)

1шт.

21

J905113

CABLE

- heater, electric

1шт.

A77490

KIT

HEATER KIT - engine oil, cylinder block, Includes: Ref. 24 and 25

1шт.

24

NSS

NOT SOLD SEPARAT

ELEMENT - heater (Order A77490) (Reference no. J904380)

1шт.

25

J905113

CABLE

- heater, electric

1шт.

Выбрано товаров: 21