Запчасти Case IH 1896 (9-414) - CAB, DOOR RETAINING PARTS (09) - CHASSIS/ATTACHMENTS

Схема запчастей Case IH 1896 - (9-414) - CAB, DOOR RETAINING PARTS (09) - CHASSIS/ATTACHMENTS
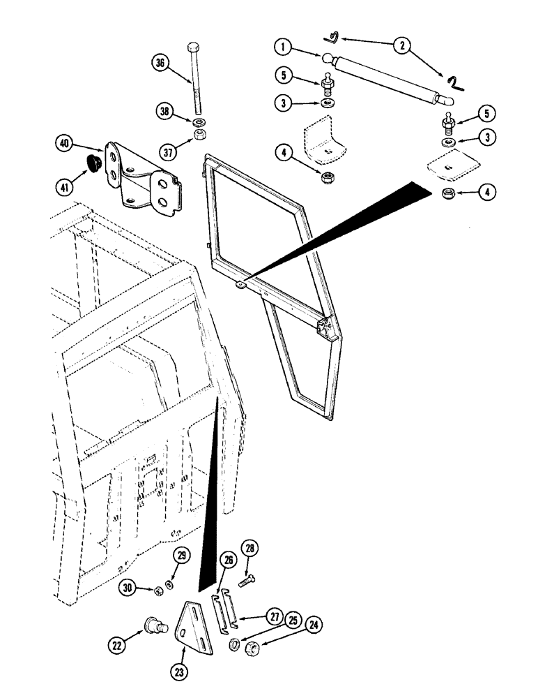
29
30
3
40
4
27
5
24
1
23
4
38
36
2
26
37
25
41
22
5
3
28
FIT
1:1
100%

Артикул

Название

Примечание

Количество

1

A181297

SPRING

CYLINDER ASSEMBLY - spring, door (Replaces F64937)

1шт.

2

F44883

CLIP,DIN 71805 - S10

- retainer (Replaces A177269)

2шт.

3

195-103

WASHER,5/16"

- flat, 3/8 x 7/8 x 3/32 inch

2шт.

4

131-176

LOCK NUT,Prev Torque, Hex, 5/16" - 18, Gr A

NUT - hex lock, 5/16 inch NC

2шт.

5

A180015

STUD

- ball, 5/16 inch NC

2шт.

22

F45073

PIN

STRIKER - latch, door

1шт.

23

F64301

BRACKET

- mounting, striker

1шт.

24

231-1447

NUT,7/16"-14, GB

NUT, LOCK, 7/16"-14, GB

1шт.

25

195-2018

WASHER,.469" x 3/4" x .065"

- flat, 15/32 x 3/4 x 1/16 inch (12 x 19 x 2 MM)

2шт.

26

F63785

SHIM

- striker bracket, 5/64 inch (2.03 MM)

2шт.

27

F63786

SHIM

- striker bracket, 3/64 inch (1.27 MM)

2шт.

28

171-243

SCREW,Cross Flat Hd, 5/16" - 18 x 1/2", W/ Nylon Insert

- flat head, 1/4 NC x 1 inch

2шт.

29

195-518

WASHER,1/4", SAE

- flat, 9/32 x 5/8 x 1/16 inch (7 x 16 x 2 mm)

2шт.

30

86625061

NUT,1/4"-20, GB

NUT - hex lock special, 1/4 inch NC

2шт.

36

113-2237

BOLT,Hex, 3/8" - 16 x 4-3/4", Gr 5

2шт.

37

131-1306

JAM NUT,Jam, 3/8"-16

NUT - hex lock, 3/8 inch NC

2шт.

38

F64046

WASHER,9.91mm ID x 19.05mm OD x 0.76mm Thk

- thrust

2шт.

40

A176027

DOOR

STOP - door

2шт.

41

A181270

BUMPER

- door stop

8шт.

Выбрано товаров: 19