Запчасти Case IH 1896 (5-120) - ADJUSTABLE FRONT AXLE TIE RODS, WITH 108 INCH (2743 MM) WHEEL BASE (05) - STEERING

Схема запчастей Case IH 1896 - (5-120) - ADJUSTABLE FRONT AXLE TIE RODS, WITH 108 INCH (2743 MM) WHEEL BASE (05) - STEERING
15
15
7
10
2
4
11
13
12
3
14
13
12
9
10
3
1
5
6
14
8
2
11
FIT
1:1
100%

Артикул

Название

Примечание

Количество

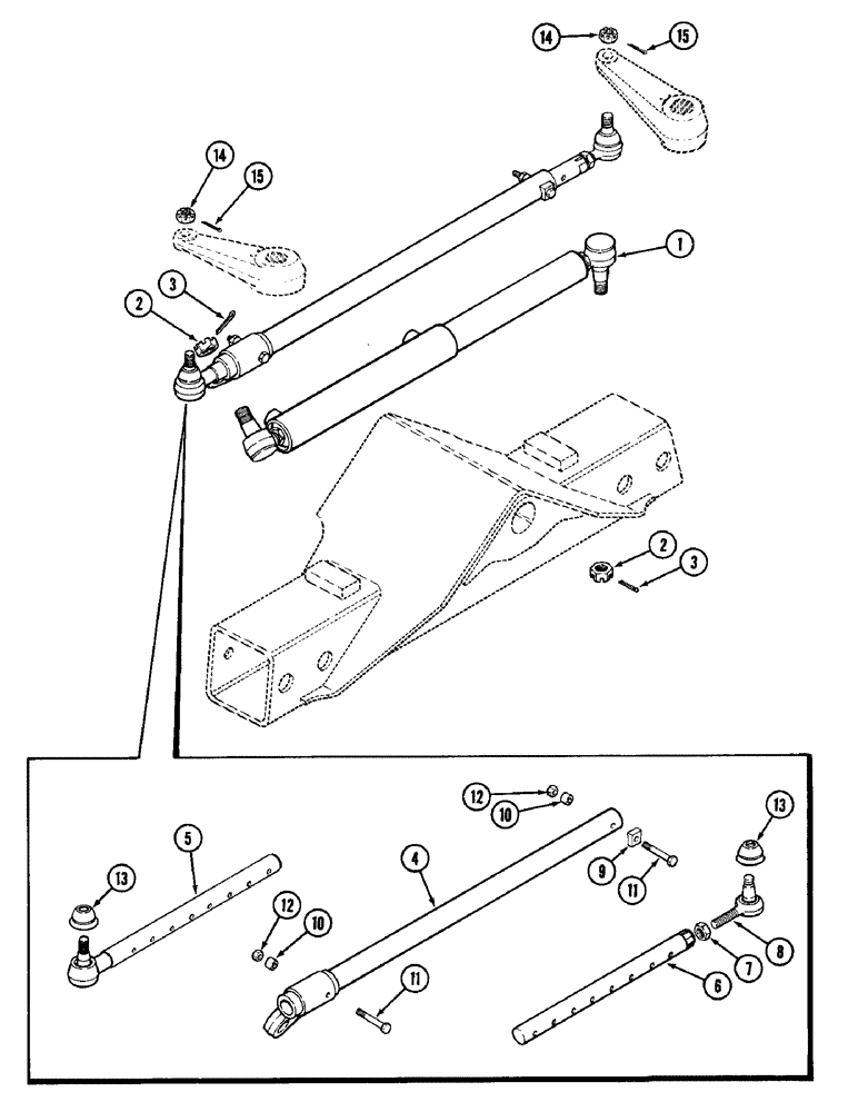
1

REF

INSTRUCTION

CYLINDER - steering (See figure 5-112)

1шт.

2

425-1314

SLOTTED NUT,7/8"-14, G5

NUT - hex slotted, 7/8 inch NF

2шт.

3

132-337

COTTER PIN,1/8" x 1 3/4"

1/8" x 1 3/4"

2шт.

4

A149033

TUBE

- tie rod

1шт.

5

A160197

ROD

END - tie rod, RH

1шт.

6

A143876

ROD

END - tie rod, LH

1шт.

7

F22580

NUT

- hex lock, special

1шт.

8

A162214

BALL

JOINT - end ball, LH

1шт.

9

A43369

CLAMP

- tie rod

1шт.

10

A145846

SPACER

- tie rod clamp

2шт.

11

26-648

BOLT,Hex, 3/8" - 16 x 3", Gr 8

- hex, 3/8 NC x 3 inch

2шт.

12

131-52

NUT,3/8"-16, GC

NUT - lock, 3/8 inch NC

2шт.

13

A160642

COVER

- dust

2шт.

14

129-610

SLOTTED NUT,5/8"-18, G5

2шт.

15

132-335

COTTER PIN,1/8" x 1 1/4"

1/8" x 1-1/4"

2шт.

Выбрано товаров: 15