Запчасти Case IH 1896 (2-12) - MUFFLER AND EXHAUST, 6T-590 ENGINE (02) - ENGINE

Схема запчастей Case IH 1896 - (2-12) - MUFFLER AND EXHAUST, 6T-590 ENGINE (02) - ENGINE
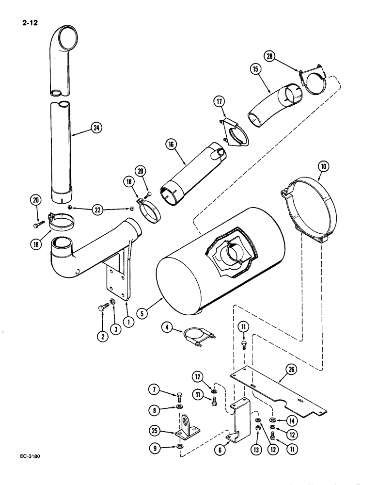
5
12
16
7
22
6
24
11
17
20
18
2
10
15
11
20
1
4
8
13
25
26
14
28
3
9
11
18
12
12
FIT
1:1
100%

Артикул

Название

Примечание

Количество

1

A166542

FITTING

ELBOW - exhaust

1шт.

2

814-12040

BOLT,Hex, M12 x 1.75 x 40mm, Cl 8.8, Full Thd

- hex, 12 mm x 40 mm, class 8.8

4шт.

3

892-11012

LOCK WASHER,M12

WASHER, LOCK, M12

4шт.

4

A176450

CLAMP

- pipe, U-bolt type

1шт.

5

A173700

MUFFLER

- exhaust

1шт.

Spark arresting muffler is not required because of turbocharger. Approved by U.S. Forest Service.

1шт.

6

A181141

BRACKET

- mounting, muffler

1шт.

7

814-12030

BOLT,Hex, M12 x 1.75 x 30mm, Cl 8.8, Full Thd

- hex, 12 mm x 30 mm, class 8.8

1шт.

8

892-11012

LOCK WASHER,M12

WASHER, LOCK, M12

2шт.

9

895-11012

WASHER,13.5mm ID x 24mm OD x 2.5mm Thk

1шт.

10

A173223

MOUNTING CLIP

CLAMP - muffler

1шт.

11

814-10025

BOLT,Hex, M10 x 1.5 x 25mm, Cl 8.8, Full Thd

- hex, 10 mm x 25 mm, class 8.8

2шт.

12

892-1110

LOCK WASHER,M10

WASHER - lock, 10 mm

2шт.

13

825-1110

NUT,M10, Cl 8

- hex, 10 mm, class 8

2шт.

14

895-11010

WASHER,11mm ID x 20mm OD x 2mm Thk

- flat, 11 x 21 x 2 mm

1шт.

15

A172789

EXHAUST SYSTEM PIPE

ELBOW - exhaust pipe

1шт.

16

A180967

PIPE

EJECTOR - exhaust pipe

1шт.

17

A145577

CLAMP

- U-bolt type, muffler

1шт.

18

A180654

CLAMP

- 96 mm, exhaust

2шт.

20

514-707

BOLT,Hex, M10 x 1.5 x 50mm, Cl 8.8, Full Thd

- 10 mm x 50 mm, class 8.8

2шт.

22

825-1110

NUT,M10, Cl 8

- hex, 10 mm, class 8

2шт.

24

A180119

PIPE

EXTENSION - exhaust

1шт.

24

A181140

EXTENSION

- exhaust (2 post ROPS)

1шт.

25

J908118

BRACKET

- lifting, rear (See Figure 2-20)

1шт.

26

A180931

SUPPORT

- mounting, air cleaner and muffler

1шт.

28

A177883

CLAMP

- U-bolt type, exhaust elbow

1шт.

Выбрано товаров: 26